Division of tribes into three groups according to the nature of the initiation ceremony. Group 1, tribes with neither circumcision nor subincision. Group 2, tribes with circumcision only. Group 3, tribes with circumcision and subincision.--List of the tribes.--Initiation on Melville Island.--Yam ceremony.--Status terms of youths and girls taking part.--Preparing the ceremonial ground.--Making a special fire to roast the yams.--Performance of ceremonies and painting of the performers.--Ducking the initiate in a water pool.--Pulling out of hair.--Special decorations worn by boys and girls passing through the ceremony and by the mother of the boy.--Port Essington tribe.--First ceremony or Nailpur; second ceremony or Wokunjari.--Kakadu tribe.--First ceremony or Jamba.--Showing the initiate the Jamba. Food restrictions.--Kangaroo ceremony.--Putting belts and armlets on the initiate.--Removing food restrictions.--Second ceremony or Ober.--Youths sent out to distant camps to invite strangers.--Special Tjaina ground.--Kangaroo and Snake ceremonies.--Third ceremony or Jungoan.--Fourth ceremony or Kulori, associated with a yam.--"Singing" different articles of food and so removing the restrictions.--Fifth ceremony or Muraian.--Performance of ceremonies.--Sacred objects associated with the Muraian.--Larakia tribe.--Belier ceremony.--Showing the Bidu-bidu or bull-roarer.--Mullinyu ceremony.--Worgait tribe.--Kundein ceremony.--Circumcision.--Baquett ceremony.--Showing the bull-roarer.--Djauan tribe.--Mindirinni ceremony.--Circumcision.--Showing the Kunapippi or bull-roarer.--Mungai ceremony.--Mungarai tribe.--Kalal camp and showing sacred
{p. 89}
ceremonies and the Kunapippi or bull-roarer.--Circumcision.--Wandella status.--Subincision.--Nadiriga status.--Smoking the nadiriga.--Nullakun tribe.--Kokullal camp at which ceremonies are performed.--Special stick called Jappa round which the lubras dance.--Circumcision.--Showing the Kunapippi or bull-roarer.
So far as initiation is concerned these northern tribes be divided into three main groups that are clearly marked off from one another by the presence or absence of certain characteristic ceremonies. In all tribes hitherto described by us, in Central and Northern Central Australia, the two ceremonies of circumcision and subincision are carried out, but as the northern coast is approached we meet with tribes which first of all drop, if they have ever practised, the rite of subincision, and, lastly, in the very north and on the Islands, we meet tribes that perform neither of these ceremonies. In no case is the knocking out of a tooth in any way connected with initiation. The three groups are as follows:--(1) Those in which neither circumcision nor subincision is practised. This includes a number of tribes inhabiting Bathurst and Melville Islands, the Coburg Peninsula and the country drained by the East, South and West Alligator Rivers and, probably, also a large extent of country to the east of this along the coast line. Amongst these tribes are included the following:--Melville and Bathurst Island Tribes, Iwaidji, Kakadu, Koarnbut, Norweilemil, Punuurlu, Kumertuo, Geimbio, Noalanji and Larakia.
(2) Those in which circumcision only is practised. This includes a smaller number inhabiting, mainly, country to the south of that of the first group of tribes, though, in the case of the Worgait, they extend to the north-west coast. They are the Worgait, Warrai, Djauan and Nullakun.
{p. 90}
(3) Those in which both circumcision and subincision are practised. They inhabit the upland country, inland from the coastal ranges and extend, on the one hand, right to the centre of the continent, and, on the other hand, eastwards to the Gulf of Carpentaria.[1] There is no doubt, also, but that they pass right across into Western Australia. Amongst them are included the following:--Mungarai, Yungman, Mudburra, Waduman, Ngainman, Bulinara, Tjingilli, Mara, Binbinga, etc.
In the following list the names of the more important tribes of the Northern Territory are given, so far as they are known at present. They are divided into three groups, according to the nature of their initiation ceremonies.[2]
GROUP 1.--Neither Circumcision nor Subincision.
|
1. Melville Island. |
20. Punuurlu. |
|
2. Bathurst Island. |
22. Kumertuo. |
|
21. Iwaidji. |
15. Kulunglutji. |
|
14. Kakadu. |
17. Geimbio. |
|
18. Koarnbut. |
44. Noalanji. |
|
43. Norweilemil (or Lemil). |
16. Umoriu. |
|
|
13. Larakia. |
|
|
19. Watta. |
GROUP 2.--Circumcision only.
|
3. Worgait. |
6. Mulluk-Mulluk (?). |
|
5. Wulwullam. |
7. Brinken |
|
23. Djauan. |
|
|
26. Nullakun. |
|
|
4. Warrai. |
|
[1. We have dealt with several of these tribes in Native Tribes of Central Australia, p. 212, and Northern Tribes of Central Australia, p. 328.
2. The approximate distribution of these tribes is shown in map A. The number opposite each tribe corresponds to the number on the map. Tribes numbered 1-41 are referred to in this volume.]
{p. 91}
GROUP 3.--Circumcision and Subincision.
|
45. Dieri. |
33. Kallawa. |
|
46. Urabunna. |
52. Anula. |
|
47. Wonkgongaru. |
35. Karawa. |
|
41. Arunta. |
53. Wilingura. |
|
48. Luritja. |
37. Allowiri. |
|
40. Unmatjera. |
54. Yarrowin. |
|
39. Kaitish. |
32. Gnuin. |
|
38. Warramunga. |
28. Yukul. |
|
42. Walpari. |
27. Mara. |
|
49. Bingongina. |
24. Mungarai. |
|
34. Tjingilli. |
25. Yungman. |
|
30. Umbaia. |
8. Mudburra. |
|
31. Nganji. |
9. Waduman. |
|
36. Worgai. |
55. Ngainman. |
|
50. Kudenji. |
10. Billianera. |
|
29. Binbinga. |
11. Airiman. |
|
51. Wanji. |
56. Kadjerong. |
|
|
12. Allura. |
The natives on Melville and Bathurst Islands differ very much in regard to their ceremonies and customs, from the typical tribes of the mainland, and in nothing is this more clearly seen than in the ceremonies attendant upon the admission of their young men to the status of manhood. It is quite possible that there are certain ceremonies of a very special nature in addition to those now described, but a very striking feature of, at all events, some of the more important of them is that all the members of the tribe--men, women and children--take part in them. This is quite opposed, and stands in strong contrast, to the customs of most mainland tribes, amongst whom women and children, except to a very limited extent, are rigidly excluded from all active participation in them, and, as a rule, are not even allowed to come anywhere near the ceremonial ground. So far as I have been able to discover there is no such thing as a churinga or bull-roarer used. The natives assured me that they had no such thing, and when I showed the old men one and showed them also illustrations of Arunta and other natives using it, though apparently they were keenly
{p. 92}
interested in it and anxious to know all that I could tell them about these tribes, they still professed complete ignorance of any such thing amongst themselves, although certain of them knew that it was used in the Larakia tribe on the mainland. I therefore think it very probable that the Melville and Bathurst Island natives have no such thing as a churinga, and in saying this I am influenced by the knowledge that, so far as I could discover, no churinga or bull-roarer is known amongst the group of tribes inhabiting the Coburg Peninsula and I the large area drained by the Alligator Rivers, these tribes being the nearest neighbours of the Melville Islanders. It is, however, very difficult to make any definite statement in regard to matters such as this. It was only last year, though the Larakia tribe had been known to white men for forty years at least, that I was able to find out that, during their initiation ceremonies, they used a churinga. Future investigations may perhaps discover either a churinga, or something equivalent to it, amongst the natives of Melville and Bathurst Islands.
An equally striking feature of the ceremonies is the entire absence of any mutilation of the body. Neither circumcision nor subincision is practised, and as the men, under normal conditions, are stark naked, the fact is very evident. They have a most curious habit when standing still of pressing the penis back between the legs so that the tip of the prepuce can be seen from behind.
The initiation of young men on Melville Island is intimately associated with what is known as a Yam ceremony. This special form of yam, which is eaten, but does not form such an important article of food as certain other yams, is called Kolamma, though it is sometimes pronounced as if it were spelt Kulemma, the "k" also being often hardly sounded. It is covered with a number of
{p. 93}
little roots which look like very strong hairs. These are called itjimma, the same name being applied to the hair on the arms and legs. Whiskers are called dunimma.
The central figure in the ceremony was a boy, who appeared to be not more than fourteen or fifteen years old. He was the initiate and was called Watjinyerti--a special status term applied to boys at this particular stage. There was also an older youth who had figured as Watjinyerti at the last initiation ceremony a year ago and was now called Mikinyerti. In addition, there were two younger boys who will attain the status of Watjinyerti at the next ceremony. They were called Marukumana. A very striking feature was the fact that certain young girls took a very definite part in the performance. One of them, who was not more than ten or eleven years old, was called Mikinyertinga. She seemed to correspond, amongst the girls, to the Watjinyerti amongst the boys, and, twice at least during the performance, was specially decorated and much in evidence. In addition to her there were three other girls, the equivalents of the Marukumana amongst the boys, who were called Mikijeruma, and, like the Marukumana boys, were passing through the ceremony for the first time. On this occasion the Mikinyerti was the mother's brother of the Mikinyertinga girl, and, consequently, much older than she was, in fact, he was really one of the younger amongst the initiated men, but in these tribes the progress of full initiation is a lengthy one. Her father decided that she should go through because of the fact that her mother's brother was doing so.
On the day on which the ceremony began, the men collected together early in the morning, about eight o'clock, and, after much singing and yelling at the top of their voices, they went out into the bush to collect yams. They were accompanied by the Mikinyerti, but
{p. 94}
not by the Watjinyerti, who had to go to the mangrove swamp to put mud over himself. If he did not do this sores might break out all over him. Four young girls and two older ones also went out with the men, while the Marukumana remained in camp.
The morning was spent gathering the yams, which were then placed in two pitchis and immersed in a waterhole about a mile away from the main camp. When this was over the men came into the latter and decorated themselves with pipe clay and whitened bird's down. The majority of them had the down plastered over their chests, shoulders, and upper parts of their arms and backs and a line of white running down the middle of the abdomen (Fig. 29). Everyone had half of the forearm and the hand whitened and a broad band across the face. In most cases this included the whole forehead and as far down as the level of the moustache, but one or two of the older men, and amongst them the leaders of the ceremony, had only a circle round each eye and a band across the nose. All of them had their hair whitened, and perhaps the most extraordinary feature was the treatment of the beard. These men have very much better beards than many, in fact most, of the northern mainland tribes. During the first part of this yam ceremony they draw the sap of a tree known as milk wood (Alstonia sp.). When a cut is made in the bark of this tree a whitish liquid exudes which becomes sticky. The natives smear this over their beards so that the hairs stand out stiffly in a kind of fringe or ruff round the face. The leader, who had no moustache or hairs on his cheeks or lower lip--he had pulled them all out--was especially noticeable. He looked very much like a white-haired, glorified orang-utan. A few of the men, including the leader, contented themselves with drawing
{p. 95}
only lines of pipe clay on their bodies, arms, and legs. It was dull, gloomy, and raining hard at intervals and the painting and singing went on till nearly three o'clock the afternoon. When all was ready, the men, amongst whom was the Mikinyerti, left the main camp, where they had been singing and decorating themselves. They came on to the site chosen for the ceremonial ground, brandishing their yam sticks, called alluguni, and yelling Ya bai e e! Ya bai e e!
When the women, who were some little distance away in the scrub, and with whom were the three Marukumana boys and the Watjinyerti, heard this yelling, some of them came up to watch what was being done, but the boys remained in the scrub. Two of the women, one of whom was the mother of a Marukumana boy and the other the father's sister of a Mikijeruma girl, had their hair curiously decorated. By means of bees' wax it was all made up into little balls, the size of a large pea, and each of them was coated with yellow ochre, producing a most curious effect.
The men stood for a short time, bunched together and yelling loudly, with their yam sticks waving above their heads. Then they suddenly stooped down, plucked up tufts of grass by the roots and threw them about in all directions, shouting out as they did so, Brr! Brr! which is a cry indicating both defiance and the fact that, in any contest, the men making it are winning. Then they all set to work, vigorously, with their yam sticks, and, in a very short time, they had the ground cleared of grass and shrubs and had also piled up earth in a ring enclosing it, the cleared space measuring about twenty feet in diameter. The four young Mikijeruma girls, already referred to, ran on to the ground and joined the men when first they, came up, watched them for a short time,
{p. 96}
and then ran back to the women. In a very short time there was quite an encampment of roughly made bark mia-mias around the ground and no attempt of any kind was made to secure privacy. The only thing was that no women or children, except in the instance above-mentioned, and on one other occasion, were allowed to cross the ring. Otherwise, everything was done in public and the whole scene, with the decorated men and women, wandering about the little bark huts, each with its own fire, from which the blue smoke curled up among the forest trees and cycads, was most picturesque. Unfortunately, it rained hard, but this made not the slightest difference to anyone. When a particularly heavy shower came on, they either went under their mia-mias or protected themselves with a sheet of stringy-bark, bent double. At this time of the year the bark can be easily stripped from the tree and is used for many purposes, either for a house, a boat, a basket, or an umbrella. The Mikinyerti was with the men, the Watjinyerti was in the scrub, under the charge of his future wife's brother, and the three Marukumana boys had been sent away into the bush by the old men, with instructions as to what they were to do.
When the ground was cleared there was a short pause and then an old man--it did not apparently matter who--rose to his feet and began to walk round and round, knocking two sticks together (Fig. 30). While doing this, everyone adopts the same characteristic attitude. The man holds his left arm above his head so that his hand, in which he has a stick, is behind the level of his head. He strikes the stick with another in his right hand, singing as he does so. This special stick is called anadaunga. Men often walk round without a stick and then they always hold the left arm in front of the head,
{p. 97}
touching the forehead with the forearm so as to shield the eyes.
The first performer opened the ceremony by singing of the salt water, then another began and sang about Cooper and his house, saying that Jokuppa was tall but he was not nearly as tall as his house.[1] Finally all the men were singing of rain, sea, boats, trees, grass, and, in fact, of everything that they could think of. Often a man would come to the end of one "song" and while thinking, of something else to sing, he always kept up a cry of Ha-ha-ha-er-er-er-, the former on a higher and the latter on a lower note.
This "singing" everything is a very characteristic feature of the Melville and Bathurst Islanders, as is also their custom, while ceremonies are being performed, of bending the body forwards and at the same time striking the buttocks with open hands and stamping furiously on the ground. Apart, also, from these ceremonies this curious repetition of names is frequently met with. Cooper and myself were once travelling in a dug-out canoe with four natives, and, as we were going along the coast, they spent most of the time naming things. One boy would say "mangrove," another "the leaves of the mangrove," another would say "dugong," and another "the head of the dugong," and so on, in endless succession. It sounded just as if they were vying with one another to see who could mention the most names, and all the time they were laughing gaily and evidently enjoying themselves.
After the singing had gone on for about half an hour
[1. This refers to Mr. R. J. Cooper, a noted Buffalo hunter, who is practically King of Melville Island, where he has great influence amongst the wild natives. He is popularly known as Joe Cooper, a name which the natives have transformed into Jokuppa.]
{p. 98}
the Watjinyerti, whose face was all painted black, was brought in from the scrub by his guardian and taken to his father. The latter led him to an old yauaminni, (mother's elder brother's son) who decorated him with, armlets called bannajinni. The yauaminni then led him round and round the men who were standing in the middle of the ceremonial ground, and then his father linked the boy's right arm in his own left and, preceded, by a younger brother of the father, the two marched round and round, the father telling the son that they had put the armlets on him, that he was now a Watjinyerti, and saying repeatedly: "They can see you like this!" By this time all the women and children were gathered, round the ceremonial ground and the mia-mias had been built. The lubras sang, repeating what the men sang first and every now and then one or other of the older women called out to the boy, telling him to follow his father and his yauaminni. This went on till late in the afternoon when all the men left the ceremonial ground, the women and children following a short distance behind. It was pouring in torrents and the ground, in many parts, was running with water, through which we squelched along, pressing our way, drenched to the skin, through the dripping scrub and tall grass. Close to the water pool a halt was made at the base of a gum tree, where some green boughs had been piled up against the trunk. They were pulled aside and, under them we found the three Marukumana boys crouching. What this part of the ceremony meant we could not discover. However, after much gesticulating and pretended surprise, the party moved on, taking the boys with them ,until they came to the stream which was now running. The yams were in a little side pool with logs placed on the pitchis to prevent them from floating away. They
{p. 99}
were inspected and then, suddenly, several old men seized the Watjinyerti, plunged into the water with him, and rushed backwards and forwards, some having hold of his legs and others of his arms. In this helpless state he was dragged backwards and forwards several times, for the most part completely immersed in the water. When they released him they turned their attentions to the Marukumana boys, who were made to lie down in the side pool (Fig. 31). First of all each of them had his head put into a bark pitchi, along with a few yams, and then, in this uncomfortable position, he was held under the water, which was very muddy, for quite half a minute. As the yams had "whiskers," their close associations with the heads of the boys was supposed to be efficacious in stimulating the growth of hair on the faces of the latter. The boys were then made to stand up and, to assist further in the growth, each one had his chin rubbed hard with a hairy yam and then freely bitten by any older man who chose to do so. This ceremony is called Tunima irruwinni. They were very sore and uncomfortable when it was all over and, to add to their discomfort, they were sent away to a mangrove swamp, close by, to have their chins rubbed with the evil-smelling mud. The women and children had been watching the performance and, after the immersion of the Watjinyerti, four of them, two mothers and two sisters, jumped into the water and gave themselves a good ducking.
All returned to camp, the Mikinyerti, Watjinyerti, and the men gathering together on the ceremonial ground, the men, at first, dancing about and clanging their sticks and repeating, time after time, "we have been to the water and washed."
By and by, the Marukumana boys came up from the
{p. 100}
swamp and went into a little mia-mia just outside the ring of earth, the Watjinyerti sitting down in another by himself, watching the men who began to perform dances and listening to the singing that went on at intervals all night.
Early next morning they were busy and, at six o'clock, started to build a special fire in the middle of the ceremonial ground. They took a number of stakes, from five to seven feet in height, and fixed them upright in the ground so that they formed a circle, about three or four feet in diameter (Fig. 32). Within this they piled up wood to a height of four feet and, on the top of this, they placed a thick layer of broken up white-ant hill. What, was the meaning of this we could not find out. Then for an hour they danced round and round it but did not attempt to light the fire. The women and children were watching them all the time. Soon after seven o'clock the men left the ground and, in single file, started off for the water pool. We were soon, once more, drenched to the skin. Nothing special took place; the yams were taken out of the water and carried back to the ceremonial ground by the Watjinyerti and the Mikinyerti and placed in two heaps, one on each side of the fire. This is always done, but the natives do not know why. Then the fire was lighted by the Mikinyerti and Watjinyerti boys, the Mikinyerti's father and the Mikinyertinga girl. It took them a long time to do this, because everything was soaking wet and pools of water were lying about on the ceremonial ground, while the natives were dancing in sloppy mud. On the way back from the water pool, the men cut a quantity of long grass stalks, which were placed on the top of each heap of yams. The three Marukumana boys, as before, were in one mia-mia and the Watjinyerti in another. The dancing and singing went on and,
{p. 101}
one occasion, the father took his daughter, the Mikinyertinga girl, by the hand and led her round several times. The fire was burning but, for more than an hour, nothing was done to it or to the yams. The Watjinyerti was surrounded by a few men who pulled out all his pubic hairs and also those on his upper and lower lip. While this was going on, the operators were singing the simple refrain, "too bad, pull out hairs," which was repeated by one woman, who was the daughter of the brother of the Watjinyerti's mother. The main body of men were walking round and round the fire, striking their buttocks and singing fiercely at intervals. At the end of about an hour, the men went to the fire and drew out lighted sticks which they threw away, first facing towards the north and then the south. Then once more they sang, the women outside the circle joining in. Taking small boughs, the men now approached the fire and beat it down from above, the idea of this being to cleanse it of all evil influence--if this were not done they believe the evil would go inside them and they would break out all over sores. While doing this they yelled, Brr! Brr! Brr! ee! ee! Some of the grass stalks were then tied into a rope, long enough to encircle the fire, around the red hot embers of which they were placed, after the latter had been raked over, together with the hot lumps of ant hill, and made more or less smooth. The idea of this was to prevent the yams from falling out of the fire. The remainder of the grass was placed over the embers and the yams put on top. Sheets of paper bark were spread over them and these, in turn, were covered with damp earth which was dug up with yam sticks, in a circle round the fire. No women placed any yams on the fire. While this was in progress, the greater number of the men stood round shouting, Brr! Brr! Brr! Oh! Oh! The men who
{p. 102}
placed the earth on the fire, smoothing it down to make a more or less regular low dome-shaped structure, eve,, now and again knelt up and threw their bodies and arm, back, while the onlookers yelled a specially loud Brr! Brr! and struck their buttocks fiercely. When the mound was completed, everyone retired to the margin of the ground; some sat down, others stood up and all of them continued singing and striking their buttocks. After a pause, one man came out and performed a special shark dance, the audience beating time. Then one old man, who took the lead and was always in front in the processions, walked slowly round and round the fire, singing of the yams and the grass. Every now and then he went outside the ceremonial ground and, with both arms held up, told the women what to sing. It was just as if a wild hymn were being sung and the verses given out, one by one. The men were chanting continuously and, every now and then, the shrill tones of the women came in. The three Marukumana and the Watjinyerti remained in their mia-mias and the singing went on for about two hours till the yams were cooked. The men then sat down round the fire and the yams were taken out (Fig. 33). The four young girls and two old women, the mother and father's sister of the Watjinyerti, were called up and were given yams to skin. Any man, apparently,, was allowed to do this and also the Watjinyerti, but not the Marukumana boys, who were not even painted. The little Mikinyertinga girl, after skinning hers, handed then, to her father. After the skinning, the yams were cut up into slices, an operation which occupied a long time. It was, of course, done on the ceremonial ground and, while it was in progress, one man was walking round and round, striking sticks together, while the others chanted. The men sang, time after time, "yams, you are
{p. 103}
fathers." The natives said that, as a result of the performance of the ceremony, all kinds of yams would grow plentifully--not only the kolamma, but, more especially, other kinds which, as articles of diet, are more useful to them than the kolamma, which is very hot and needs special preparation. This one kind of yam is not much used by the Melville and Bathurst Islanders but is a favourite food amongst other tribes on the mainland. The Island natives evidently regard the kolamma, probably because it has to be specially treated before being safe to eat, as a superior kind of yam, endowed with properties such as the ordinary yams do not possess. If a boy sees this ceremony and afterwards does not do what he is told to do by the old men when he is being initiated, he becomes very ill and dies.
The father of the Mikinyertinga girl took some slices of yam in his hand and the daughter poured water on them from a palm leaf basket, after which the man rubbed the daughter's hair with them in order to make it grow. This over, the four girls retired from the ceremonial ground. Then the men crunched some of the slices in their hands and rubbed their own beards with them. This is called tunima ubabrulua. The sister of the father of the Mikinyertinga and the mother of the Watjinyerti rubbed each other's heads and faces with yam slices., and, when all the rubbing was over, a general decoration of men, women, and children began. The Watjinyerti was painted by a yauaminni man, and had his hair, a band across his nose, and a band down each cheek, white. His armlets, bamajinni, were red-ochred afresh. The Mikinyerti youth had his hair, a band across the nose, and such beard and whiskers as he possessed, painted yellow. The three Marukumana boys had their faces Painted black. As soon as the slicing of the yams was
{p. 104}
over, a small mia-mia, made of sheets of bark and gum tree boughs, was built close beside the remains of the fire, and into this the men put the Watjinyerti and the Marukumana, in order that, so the natives said, they could not be seen by the women. This mia-mia is called malanni, the usual term for one being irruwunni. This may perhaps be a remnant of an aspect of the ceremony which, at one time, was more strongly developed than it is now on Melville Island, and that is the seclusion of the initiate, so that he is not seen by the women and children, who believe in many tribes that during the initiation ceremony he is taken away by a spirit and made into a man.
While the boys were thus hidden, the painting went on, one or two of the old yam men keeping up a continuous chant referring to the yams and the grass. The father painted the Mikinyertinga girl yellow all over (Fig. 34); another girl had one side of her head painted white by her mother and the other side yellow, above one eye she had a white line, and below, a yellow one, and vice versâ on the other side. If both yellow and white were used, as was often the case, the right side was always white and the left yellow. The old leading man had one side of his hair white, the other yellow, the whole of his face was red, save for a yellow band across the forehead just above the eyes, and a white band from ear to ear across the bridge of the nose. His upper and lower lips were clean "shaved," but a strong fringe of beard was made to project all round by means of the sticky sap of the milk-wood tree, and was edged with white down. This design, together with a red ochred body and long sinuous lines of white and yellow from his shoulders to his knees, gave him a ferocious and remarkably weird aspect. Another of the older men had one side of his hair white, the other yellow, and a broad
{p. 105}
median band of red right across his hair, down the middle of his forehead, nose, lips and chin, and then on to his projecting beard, which on one side was painted white and on the other red. The rest of his face was a somewhat lighter red than the median band. Some of the men had their bodies all covered with yellow, others with red, and one or two with black. In most cases they had sinuous lines of white and yellow or yellow and red, and sometimes all three, which usually began at the elbow, ran up to the shoulder, and then either close together down the back on either side to the knee, or else looping over one another. If the white was outermost on one side, it was innermost on the other, this alternation of colours being most striking and characteristic. All the designs were decidedly ornate and quite unlike any that I have seen amongst other Australian aboriginals. They are, however, though decidedly elaborate, very roughly drawn in comparison with those used during the sacred ceremonies of such tribes as the Arunta and the Waramunga.
While this was going on the singing was continuous, but what was sung was very simple. One old man suddenly shouted to the women, "I have painted my daughter's hair yellow." Another old man came out from the ceremonial ground, went near to where a number of women were grouped together, and sang out to them, "I have painted one side of my daughter white and the other side yellow." In one case, the two wives and daughter of an old man were a little way off in the scrub, painting themselves in their mia-mia. The old man kept coming out from the ring and walking round so that they could both see and hear him, and time after time they sang out, repeating what he said, which was merely a reference to the painting. The women, in
{p. 106}
most cases, simply daubed red or yellow ochre over themselves, with little attempt at design. When the decorations were complete, there was a short pause, and then the men began to walk round and round the ground, singing and clanging sticks with their arms uplifted as usual. Then one man "sang." the Mabanuri, or shooting star, which is supposed to be an evil spirit. The object of this singing was to protect the boys in the mia-mia against its evil influence.
Also they sang the bamajinni, that is the armlets of the Watjinyerti, which is also supposed to aid in protecting him against any shooting star. This over, several men walked round and round the mia-mia containing the Watjinyerti, singing of an attack upon it by spears. At this stage, the old leading man was standing up and giving orders. He, and another man, danced wildly round and round the mia-mia while the men, with special vigour, struck their buttocks, yelling and stamping loudly as they did so. It was a crocodile dance, and the old man carried a ball of red ochred down in his hands, throwing it up every now and again to represent fish jumping out of the water in front of the crocodile. This was followed by a shark dance, performed by a man with a blackened body and long sinuous lines of white and yellow spots. These were the best dancers and they entered into the performance with zest, dancing and stamping, round and round, until they were exhausted. Then came a curious part of the ceremony, quite unlike anything that is known in connection with initiation on the mainland. The father of the Mikinyertinga girl had previously decorated her with red and yellow ochre. He now called her up and spent some time in building up kind of mop of hair on her head, by means of twisting into her own hair a large number of little curled strands
{p. 107}
of human hair. The result was a great mop, calling to mind, on a small scale, that of many Papuans. Then he placed on her forehead a curious chaplet. It is made of a piece of bamboo bent round so as to fit the head closely from ear to ear, across the forehead, somewhat like a tiara. On to it were fixed a series of flattened tufts of dog tail hairs--the hairs radiating from a central disc of beeswax. Decorated with this mop of hair and the chaplet, the girl was led by her father to the mia-mia and put inside this with the four boys. It was a tight fit, and they were all closely huddled together. Then there came another shark dance, accompanied by a song, consisting of the repetition of the simple refrain, "the shark has a big mouth. The salt water makes the shark's mouth big." This was sung by a man of the Pandanus (screw-pine) totem. Then came a devil-devil dance called Mabanuri (shooting star). This was followed by a march round and round the mia-mia, the men gradually getting more and more excited. They were supposed to be a hostile tribe, coming to kill the people in the mia-mia. The men began to prance about and, after a minute or two, the bark sheets were opened up, so that the girl and boys could be seen. Then they were closed up again and a mock attack, with spears, was made, the occupants being supposed to be killed. After this there was a regular pandemonium, everyone dancing and yelling at the same time. This went on for some minutes and then, when they were thoroughly wound up and excited, they divided into two parties, the older men in one and the younger men in the other. just before this the mia-mia had been pulled down and the occupants came out, the girl and the Marukumana going to one side--in fact leaving the ceremonial ground. The father took charge of the chaplet. {p. 108} The Watjinyerti joined the younger party, as did also the Mikinyerti youth. At first, they had a long pole at which each party pulled, much as if it were a tug-of-war, but this was soon thrown away and then they mingled together, forming a wild, excited mass of yelling savages, heads, arms, legs, and bodies all mixed up, until, at length, one party succeeded in pushing the other, slowly, along while they yelled Brr! Brr! They undid themselves and the performance, called Arri madjunderri, came to an end. The men gathered again round the remains of the fire and the old leader took hold of the Watjinyerti's arms, behind his back, and led him round the fire. There was some more dancing, the men standing round the margin of the ceremonial ground, and then the leader came out into the middle, picked up some remnants of the fire, and threw them away in various directions. This was supposed to be emblematic of the throwing away of sickness. Then they set off for the water hole, in single file, the Watjinyerti and the Mikinyerti carrying the yams. The Mikinyertinga and the Mikijeruma girls and the two old women accompanied them, the other women and children came on behind and stood a little distance away. When they reached the water hole, the yams were put in the water, together with the roots or "whiskers" which had been carefully preserved and were "sung." Then an extraordinary ceremony took place. Most of the men began to pluck their beards and whiskers out (Fig. 35). They began at the ear on each side and went down to the middle of the chin, plucking the hair out in bunches. Some did it for themselves, some allowed others to do it for them, and not a single man seemed to flinch in the slightest degree during the performance of what must have been, at all events, a decidedly uncomfortable operation. A strange thing was that no bleeding seemed to
{p. 109}
take place. When it was over the hair was placed in the pitchis, together with the sliced yams and their "whiskers" and left in the water for the night. Early next morning, everyone was astir and the decorations were renewed. Then they all set off for the water hole, in single file as usual. A halt was made, before they reached the water hole, at the base of the tree at which the Watjinyerti had previously been secreted. Acting under instructions from the old leader, a Marukumana boy and the Mikinyertinga girl had left the camp and were lying concealed by boughs, at the foot of the same tree. The father of the girl placed the chaplet on her forehead and gave her a ball of red-ochred down, called Taquoinga--the same one that he had previously used in the crocodile dance--hanging it round her neck with a string. This done, the whole party came on, the bushes were thrown aside, and everyone simulated the greatest astonishment. The boys came out first of all and danced about, within a circle formed by the men, who sang and struck their buttocks. Then the girl came out and danced round, accompanied by four men, her father and three of his brothers. The girl carried the Taquoinga in her mouth, because she was supposed to be shy and it gave her courage. A ball of this kind, called Ballduk by the Kakadu, is very often seen, suspended from the necks of the men, both on Melville and Bathurst Islands, and on the mainland, and is always carried in the mouth and bitten hard, at times of great excitement, such as during a fight. After this little ceremony was over, the whole party moved on to the water hole, the yams were taken out and carried away to the camp, the hairs and whiskers being left behind. The natives, apparently, have no fear of anyone securing the hair and working evil magic with it. In camp, everyone partook of the yams and
{p. 110}
they were all supposed to begin eating at the same time.
The Watjinyerti was painted red and, for some time, he had to keep away from the main camp. We used to see him sitting about in the scrub, a rather forlorn looking creature, bright red, because he was completely smeared over with ochre, and wearing the armlets. In addition to these, he now wore a strange necklet called Marungwum. It was made of a round stick about half an inch in diameter, bent into the shape of a horseshoe, the two ends being capped with knots of wax and tied together with hair string, from the middle point of which a long string, ending in a tassel, called paraminni, hung down the middle of his back. He wore this continuously after the ceremony was over, for six weeks, when a new one, called Illajinni, was made, which, in its turn, he wore for four months. The natives have no idea as to what is the significance of the necklet, except that the Watjinyerti always has worn it and that, if he took it off, he would become seriously ill. Certainly, together with his red-ochred face, it makes him a very prominent and distinctive object. When the ceremony was over, the mother of the Watjinyerti had to wear a necklet similar to his and was obliged to keep it on as long as he did. The natives say that, if the mother's fell off, the boy would become ill, and that if the boy's should fall off the mother would be ill. After these ceremonies were over, the ceremonial ground was deserted. The mia-mias that had encircled it closely were removed some distance away into the scrub. Three days later, while the natives were busy painting posts) to place on the grave of a man who had died a year ago, they gathered together, close by the posts, and the young Marukumana were brought in and thrown up in the air. The idea was to make them grow tall. On the morning of the next day
{p. 111}
the men again assembled at the grave posts and lighted a fire at the base of a blood-wood tree, close by. Four boys, two of them Marukumana and two younger ones, were made to climb up the trunk. Green boughs were placed on the fire, from which a column of smoke arose, called kujui. The same word is applied to a water spout, which it is supposed to represent. Each of the boys, in turn, had to climb down. The two younger ones were allowed to jump over the fire but the Marukumana had to pass through it.
The above ceremonies took place during the second week in March. I was unable to see the subsequent proceedings, but during a later visit to Melville Island was informed that what took place was as follows:--My informant, one of the natives, was present and secured for me the various ornaments. The Watjinyerti remained away from the main camp until the end of April, when he came into his mother's camp, took off his old ornaments and washed himself in salt water, brought up by his mother. New ornaments were put on him, including a special belt called Olturuma, which was made by his mother's brother. He kept all these on until the performance of a final ceremony in September. On this occasion he sat down in camp with his mother, with all his ornaments on. His mother sang out to the older women, especially his "sisters," to come up. They did so and took half of the ornaments off and then the older men came up and took the remainder off. When this was done the Watjinyerti danced a little. A Yauaminni man took the ornaments--armlets, necklets, and waist girdles--and placed them all on a special platform of branches, built like a big nest, in an iron-wood tree. While this was being done, everyone stood round the mother and the Watjinyerti, who were in the middle. {p. 112} Everyone, men, women, boys, and girls, cut their heads and cried. With this the ceremony came to a close.
The various articles worn by the Watjinyerti boy, the Mikinyertinga girl and the mother of the boy are shown in Plate 1. [Ornaments Worn During Initiation Ceremony On Melville Islane] Figs. 1 and 2 represent the special belt called Olturuma. Both of them are twenty-six inches in length and very strongly made out of alternate blocks or panels, as it were, of human hair and banyan bark string, their edges being sewn all round with split cane. This bark string forms a strong loop at each end, where it is covered with beeswax that has been whitened with pipe clay. in the upper one the blocks of human hair string are left uncoloured, those of banyan bark string are red-ochred and outlined and crossed by lines of white and yellow alternating in the way characteristic of Melville and Bathurst Island decorations. The lower one shows a somewhat more complicated scheme of decoration, some of the human hair blocks or panels being red-ochred. The centre of the belt is marked by a white circle; on each side of this is a red panel, then an uncoloured banyan-bark string panel, then a pinkish-cream coloured panel, the pigment being made by mixing pipe clay with red-ochre; this is followed by a red panel, then a long one of banyan string, partly coloured, partly uncoloured; on the right side is a long human hair string panel, running; to the end, but, on the left, the terminal panel is made of banyan bark. The design is symmetrical in the central part of the belt, but slightly asymmetrical towards each end.
Fig. 3 represents the ornament worn by the mother. It measures twelve by thirteen inches. It consists of a stick about three-quarters of an inch in diameter bent so as to form a semicircle. It has been completely smoothed and red-ochred and its two ends are held
{p. 113}
together by strong strands of banyan bark string, bound round and round so as to form a strong bar which is completely coated over with beeswax and decorated with alternating bands of red and yellow ochre, outlined with white. By way of ornamentation there is, on each side, a knob of wax studded with abrus seeds. From the middle of this transverse bar an elaborate pendant hangs down. Its total length is eighteen inches and it consists of a large number of strands of banyan bark string gathered together into two cords to form a loop half-way down the pendant, the strands being enclosed in beeswax, one side coloured red, the other yellow. The attachment of the pendant to the bar is marked by a ring of wax covered with abrus seeds. Then follows a curious disc, two and three-quarter inches in diameter, with short, stiff strands of human hair string radiating all round. For an inch and a half beyond this the string is enclosed in wax coloured yellow and red, then for two inches and three-quarters the string, which is red-ochred, is free. This is succeeded by the central loop, which is ornamented at each end with a circle of abrus seeds, stuck in beeswax. The length of this part is four inches and a half. Then for three and a half inches the strands are free, after this follow a circle of abrus seeds, then a length of string, two and three-quarter inches, covered with wax, painted red, white, and yellow. This is succeeded by a second disc made of a series of cane rings fitting one inside the other, with stiff strands of human hair string radiating all round. The disc, as can be seen,, is decorated with alternating, radiating lines of yellow, red, and white. Finally the Pendant terminates in a sphere of delicate, light brown coloured down feathers.
The structure is worn in such a way that the pendant hangs down the middle of the back.
{p. 114}
Figs. 4 and 5 represent, respectively, the necklets called Marungwurm and Illajinni, worn by the Watjinyerti boy. The smaller one measures six and a half inches by six, the larger one eight inches by six and a half. They are quite simple in form and made, essentially, in the same way as the larger one worn by the mother. One of them, the one that I saw the boy wearing, has a pendant of thirty-four strands of red-ochred human hair string. The other is ornamented with two knots of beeswax, each two inches long and thickly studded with abrus seeds.
Figs. 6 and 7 represent the ornaments worn by the Mikinyertinga girl. The first of these is in the form of a curious chaplet, made of strands of human hair string that are all flattened out and covered with beeswax so as to form, roughly, a semicircle about eight inches in external diameter. Radiating out from this semicircle there are eleven wild dog tall tips which are also flattened out. The girl wore the chaplet on her head as if it were a tiara, the semicircle of wax passing across the front of her hair from car to ear, the strands of hair string being tied together behind her head. The second has the form of a ball measuring three and a quarter inches in diameter. It is very cleverly made out of the lower parts of feathers that have been cut in half so as to retain part of the stiff barbs and all the down portion at their bases. The cut ends in some way, are closely and firmly attached in the centre of the sphere, but it is so compact that, without destroying it, it is impossible to ascertain how they are actually attached. The projecting end of each is the quill end, so that the sphere which is composed of hundreds of feathers looks like a ball of down. The feathers have been orange-coloured with a mixture of red and yellow ochre. The girl wore the ornament round her neck, attached by four strands of human hair string
{p. 115}
during the performance of her dance, held it tightly between her teeth. It is called Taquoinga, the same name being applied to the little spherical bag that the men carry round their necks and place between their teeth during times of especial excitement.
In the Port Essington tribe there are two important ceremonies connected with initiation, the first of which is called Naialpur and the second Wokungjari; these terms indicating also the status of the individual who has passed through one or other of them. The following account was given to me by a Port Essington native who was living in Cooper's Camp on Melville Island and was well acquainted with the customs of the latter people as well as with those of his own tribe.
The central figure of the Naialpur is a youth who has reached the status of Ngauunduitch and is perhaps fifteen or sixteen years old. He is the equivalent of the Watjinyerti on Melville Island, and there are also younger boys who take a secondary position in the ceremony. They are called Namungulara and are the equivalents of the Marukumana boys. These boys may evidently take part in the ceremony several times before they become the central figure. There was one Port Essington boy in the camp on Melville Island who was not more than thirteen years of age and he had twice been Namulugara.
The elder men, that is the Wokunjarri and Balquar akkan, consult and decide upon the initiation of the youth. A man who is the latter's pappam comes to him and says "gun mi araman," I want you. This is done in the camp, and the kamu (mothers), wulko and munburtji (elder and younger sisters) cut themselves and cry. When it has thus been decided to advance any youth from the status of Ngauunduitch to that of Naialpur he is sent out to visit camps under the guardianship of a man who has
{p. 116}
already attained the latter status. They each carry a very simple wand, merely a stick about four feet long, called uro-ammi (Fig. 36),and when they come within sight of a strange camp, they halt and, bending towards one another over the wands, chant a refrain the significance of which is well understood.[1] The women in camp reply with the call "wait ba; wait ba," and so long as the youths remain in any camp, they periodically repeat their refrain, the women always answering with theirs. When the Ngauunduitch and his guardian Naialpur return they are taken to a special camp called koar, where a ceremonial ground has been prepared. The latter is about thirty or forty yards long with the sand banked up all round, and on one side a track leading into it with its sides also slightly banked up. In the middle of the ground is a bush wurley called wangaratja with a forked stick standing upright on each side and a hollow log within it. The men's spears are bunched together and rest against the side of the wurley. The first night the Ngauunduitch spends, under the charge of a pappam, close to the entrance of the koar. Early in the morning he is taken on to the ground and sits down beside the log which has been removed from the wurley. This special log is called piruakukka, a name that no lubra may bear. The usual name for a hollow log is aranweir. At first the younger boys are present and the pappam men dance round and round them and at times pinch their cheeks to make their hair grow. This is in the very early morning, after which they are taken back to the camp and the men set to work to decorate themselves for the performance of ceremonies on the koar.
The Ngauunduitch, both now and during the time that he travels over the country from camp to camp, wears
[1. A fuller account of this is given later in connection with the initiation ceremonies of the Kakadu tribe.]
{p. 117}
special waist girdle called agir-agir. It is made of a cord of human hair string from which short lengths of string, arranged in pairs, each about eight inches long and ending in little knots of beeswax, hang down. During the ceremony, also, both the Ngauunduitch and the Namungulara wear necklets called leda. Each of these consist of a circlet, large enough to go comfortably round the neck, made of vegetable fibre string, such as that derived from the banyan tree bark, or it may be made from the hair of a young man. The strands of strings are gathered together to form a pendent that hangs down the middle of the boy's back. Where the strands come together on the circlet, there is a coating of beeswax and the pendent cord is also ornamented with two or three circles of the same material. In the case of the younger boys, the Namungulara, a small length of bamboo, is attached to the free end of the cord. In some mysterious way this is supposed to represent the boy's knee, and the wearing of it during the ceremony has the effect of strengthening the knee. At a certain point in the ceremony, also, the Namungulara boys come into camp and place their ledas on the heads of their mothers, which is a sign to the latter that the ceremony is nearly over and that they must go out into the bush and collect yams. When the men are ready the pappam takes the Ngauunduitch[1] back to the koar in the middle of which all the decorated men stand round the wurley. When he reaches the entrance to the wurley the men yell Prr! Prr! The men are painted so that their faces cannot be recognised and, at first, the youth is frightened because he has seen nothing like it before. The men
[1. There are often two or more youths passing through the ceremony at the same time, in which case they sit down in a row with a pappam in charge of each.]
{p. 118}
arrange themselves round the margin of the koar and then they dance, one by one. This over they pull the wurley to pieces and dance on the remnants. Th, boy is then taken back to his camp by the pappam. At night he returns to the koar and ceremonies are performed connected with the totems, kangaroo, cockatoo, crocodile, lizard, etc. At the close of each one they dance on the remains of the wurley and finally lie down on them, some of the bushes being piled on the top of the old men. The natives have no idea of the meaning of the wurley or of breaking it down. While this is going on the pappam sing:--
Nan o tjeri nilkil
Binyung mi
Bin yalli nalli
Tjai Tjo---o------!
Then the old men get up from the bushes. Bunches of cockatoo feathers are placed on the boys' heads and then the ceremonies go on, the pappam singing--
Natjat pula pula
Bin yung mi
Bin yalli nalli
Tjai Tjo---o------!
repeating it time after time until they are tired out. The men now arrange themselves in a long row and then crouch down with hands on knees, all swaying about from side to side and whistling in imitation of the wind. Then they stand up, everyone waving about like a tree in the wind; in fact they are supposed to represent big gum trees. Time after time they repeat the refrain "Natjat pula pula," etc., and then they all fall down on hands and knees and move along in a line around and behind the youth surging and swaying from side to side and yelling Arr! Arr! until at last, with a final loud
{p. 119}
Ai kai ai: ai kai ai: ai-------, ending in a long descending note, they fall down round the hollow log. The boy is then made to sit by the side of the latter with the men all round him. The old pappam men sing out
Birringin, birringin, birringin,
Urqui pit, urqui pit,
Alor! alor! alor!
The whole is repeated several times and the day's performance comes to an end, the boy being taken back to his camp to sleep. Early next morning they are back on the koar and are shown first a crocodile ceremony. One old man sits on the log and the others on the ground close by, singing,
Wungaka wunga birri
Birridji ja djaquia.
The boy stands by and watches. Two men, imitating the movements of a crocodile, sprawl on the ground and crawl along to the remains of the wurley. The man on the log sings out Wau, Wau, which is the signal for an old man to knock down the forked sticks. This knocking down is called numulana. Later on a cockatoo ceremony is shown.
It is during the performance of these ceremonies that the boy is shown the bull-roarer, called by this tribe Kurrabudji. He sits down on the koar ground with his head bent low so that he cannot see what is taking place. Some of the old men paint themselves and come up behind him whirling the bull-roarers. The pappam tells the boy to look up, and then he sees the men and is told that the noise is made by the Kurrabudji. As usual the lubras think it is the voice of a great spirit that takes the boys away, but the old men tell him that it is not so. At first he is very frightened, but the old men show him
{p. 120}
the sticks and, after having rubbed their own bodies with them, place them in his hands. The boy looks at them, and then hands them back again to the old men. He is repeatedly shown the Kurrabudji and warned that the lubras and children must not see them on any account. At times also the boy is rubbed over with the sticks. In addition to this the old men often rub the heads and cheeks of the Ngauunduitch and Namungulara with their hands to make the hair and whiskers grow. Fat is also rubbed frequently on their private parts to make then, strong, and they are told that they must not growl at the old men, and must not take a lubra until they are older and have passed two or three times through the Naialpur.
The showing of ceremonies continues for five or six weeks, after which a visit is paid to the lubra's camp. The Naialpur is in the centre of the procession with the pappam and other men round him. They shout loudly Kor yai, kor yai, so as to tell the lubras that they are coming. Then, when quite close to the camp, they yell wha, wha, wha! At the camp the lubras are arranged in two rows with a strong forked post, called quiaramba, fixed upright in the ground. On this two young women sit, crying out leda, leda, which means "string, string," some of which they hold out. The same name "leda" is given to the head rings of the Namungulara boys. The two girls are either sisters or sister's daughters of the Naialpur. When the men are about twenty yards away they come down from the post and all the women sing Kait ba, Kait ba, moving their hands and knees as if to invite the men to come on. The Naialpur and Namungulara wear opossum fur-string armlets, human hair-string girdles, the special chest girdles, called man-ma-ouri, which encircle the shoulders, chest, and neck. They also wear the head rings called leda, and a pubic tassel. The {p. 121} Naialpur stands quietly beside the forked post while the men dance between and round the two lines of women. The pappam then leads the Naialpur to his father and mother, who are at the far end of the camp, and seats him between them. Then the boy's sisters come up and a general walling ensues, after which the Naialpur is once more taken into the bush.
The second ceremony, called Wokungjari, is passed through after a man is married, sometimes before, and sometimes after he has a child. In the case of my informant it took place before. A pappam tells the young man to come with him into the bush, which he does, leaving his wife in charge of his father and mother. The pappam supplies him with food and he is supposed to be dependent on the old man for this, so that sometimes he may have plenty, but at others very little, depending entirely upon how much the old man has either the ability or the desire to secure. He is very often shown the Kurrabidji and every now and then his father comes and looks at him, but no one else, and he must not go anywhere near his lubra. Every day the pappam rubs him over with fat, and he spends practically all his time on the ceremonial ground, where he is shown and allowed also to take part in the performance of totemic ceremonies. This goes on for two months, at the end of which time the pappam tells him to go and bathe, and show himself to his father and mother in the Main camp. He is now a Wokungjari or fully initiated man.
The Kakadu is one of a group, or nation, of tribes inhabiting an unknown extent of country, including that drained by the Alligator Rivers, the Coburg Peninsula, and the coastal district, at all events as far west as Finke Bay. Its eastern extension is not known. For this
{p. 122}
nation I propose the name Kakadu, after that. of the tribe of which we know most.
The initiation ceremonies are evidently closely similar all through this group of tribes. In different parts of Australia these ceremonies vary to a considerable extent. In the south-eastern and eastern coastal tribes the ceremony consists in knocking out a front tooth. In the central and north central and also in some of the western tribes, there are two ceremonies which often follow close upon each other. At the first the rite of circumcision is carried out and at the second that of subincision. In some of these tribes only the first of these is practised. In the Arunta and other central tribes, the youth is regarded as initiated and is allowed to see all the sacred ceremonies as soon as he has passed through the two ceremonies named, but, at a later time, he takes part in what is called the Engwura, which consists, partly, in the performance of a long series of sacred ceremonies referring to the totemic ancestors, and partly in a curious ordeal by fire, after which he becomes a full man, or, as they say, ertwa murra oknira, which words mean man, good, very. He only takes part in this when he is adult. In the Kakadu nation there is a succession of no fewer than five series of ceremonies, the last of which only adult and comparatively old men may witness. They are performed in the following order and are known respectively as
1. Jamba.
2. Ober.
3. Jungoan.
4. Kulori.
5. Muraian.
Of these the first may be regarded, strictly speaking, as the important initiation ceremony. It marks the turning
{p. 123}
point in the life of each youth, when he passes out of the ranks of the women and children, enters into those of the men, and is, thereafter, allowed to see and gradually take part in the performance of the sacred ceremonies that are characteristic of the remaining four, although he is an elderly man before he is permitted to witness the Muraian.
1. Jamba Ceremony.
I was not fortunate enough to see the Jamba initiation ceremony of the Kakadu tribe but a middle-aged man, named Urangara, who was fully acquainted with all the sacred ceremonies of the tribe, described to us what happened in his own case and the procedure as he has witnessed and taken part in it many times since then. just before the rain season, in his own case, his father consulted a few old men, some of whom stood in the relation of father's elder brothers to him and others in that of father's father (Kaka). These men) during the ceremony, are called Kuringarerli. The father said to the old men: "My boy is growing big, his whiskers are coming. It is time he was allowed to eat some of the forbidden foods." The latter is expressed by the words "morpia" (food), meja (eat), kumali (forbidden or tabu). After this, there was a general conversation amongst the older men and it was decided that the time had come for the boy to be initiated. They said to two elder men, Bialilla mirawara muramunna koro, which means the boy is growing big, you two go to the bush. On this occasion there was another youth who was being initiated at the same time and the two elder men took the two youths away with them into the bush, visiting various camps and inviting the strangers to come and witness the ceremony. They stayed away a long
{p. 124}
time until, as Urangara said, tjara numbereba, that is, their whiskers were long. During all this time the two elder men must not look at a lubra; if they did the boys would become ill and also the other men would drive spears into them. The women have to be very careful not to go anywhere where they are likely to come across the youths. The old men instruct them what parts to avoid. After a long wandering, the boys and their guardians return, bringing with them the visitors, whom they gather together as they come to the various camps on their homeward journey. All the men in camp, except a few of the elders, who remain to watch the women and children, go out to meet the party, whose approach is notified by the clanging of sticks. The whole party comes in, except the boys and their guardians. The strangers are conducted to their camping grounds and, early next morning, the men go out and prepare a special ceremonial ground called Tjaina. At one side of this a bush shade, called waryanwer, is made and the men stand, some under the shade, which is six feet high, and open at both ends, and some round the ground. In the centre of the latter is a hollow log called jamba, four or five feet long and about two feet in diameter. The boys are not yet brought to the ground, but one old man sits down and repeatedly strikes the jamba. He is called dabinji wanbui. It is now dark, or mardid, that is, night time. An old man takes two sticks and goes out close to where the boys are camped, striking his sticks together. The men in charge of the boys say, ameina--what is it? and the old man answers, Brau ningari--give us the boys. They reply, Ouwoiya kormilda--yes, to-morrow. Then the old man returns to the camp and all sleep. In the morning they say to the boys, moru kuperkap--go and bathe. The lubras meanwhile have been sent out to gather food--
{p. 125}
lily roots, seeds, etc.--and are told to return at mid-day (mieta). The boys bathe, while the lubras are out of the way in the scrub, because they may not yet be seen by the latter. After this they are painted by their guardians. Each has a circle of white running across, just above the eyes, then down each cheek and under the chin, so that the whole face is framed, as it were, in white. Two lines of red run across the upper part of the forehead. On their return, the women paint themselves; the younger ones must be decorated with red ochre, the old women may paint themselves as they like and very often use yellow ochre. When all is ready, the boys are brought up accompanied by the women, who sing "wait ba, wait ba." The old men cover the eyes of the boys, who walk with their heads bent down. There may sometimes be as many as ten or twelve youths passing through the ceremony, in which case they are brought up in pairs. When they have all come in, the lubras run back to their camp, singing "wait ba, wait ba," swaying their bodies from side to side, like a native companion. The old men, the guardians of the boys, have bushes in their hands which they shake, saying to the boys kulali koregora--look at the sky; jibari koregora--look at the trees; balji jereini koregora--look at the big crowd of men. After saying this they take their hands away from the boys, who look up and see the ceremonial ground, the jamba, the bush shade, and the men standing round. Meanwhile sticks are struck together and the bamboo trumpets sound, making a noise which sounds like a constant repetition of biddle-an-bum, biddle-an-bum. This is a very characteristic booming sound with the two first syllables said more or less rapidly and long emphasis laid on the third. There is considerable excitement and the singing and clanging go
{p. 126}
on for some time, until at last the boys are taken into the bush shade. After a time the old men lead them on to the ground and seat them one at each end of the jamba. The old guardian kneels immediately behind his boy, telling him what to do. He first of all takes a stone and hands it to the boy saying, jilalka podauerbi--here is a stone. Then he says, Ngoornberri jilalka mukara--son, throw the stone. The boys then throw each stone through the hollow jamba, after which they hand them back to their guardians. No one knows why this is done. The guardians say to the boys, Ngoornberri tjaina kumali: jamba kumali koregora: uriauer kumali koregora: which means, son, you see the forbidden tjaina, jamba, or bush shade, as the case may be. Then all the foods that are forbidden, or kumali to them, are named and repeated, Kintjilbara (a snake) kumali, kulori (a yam) kumali, kulungeni (flying fox) kumali, and so on, through the whole list, which includes most of the good things. The boys say nothing and the sun goes down.
When this ceremony is over they are once more sent into the bush, still under the guardianship of the old men. The other old men remain in camp, performing ceremonies, and the women go out gathering food supplies. If the boys chance to hear the lubras talking, they must immediately bite up some paper bark and stuff up their ears with it. On no account are the initiates allowed to eat any food that has been secured or handled by women; everything that they eat must be given to them by their guardians.
The ceremonies are carried on in camp for about five moons, and during all this time the boys are in the bush. When it is decided to bring them back, certain of the Numulakiri, that is, young men who have previously passed through this particular ceremony and, though
{p. 127}
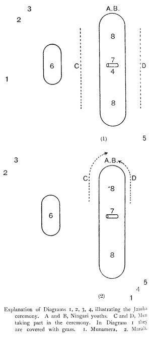
initiated, are not old enough to be allowed to see the final series of ceremonies, called Muraian, are sent out by the old men to bring the Ningari in. The older men who have been looking after them have, meanwhile, joined the others in the main camp. The Ningari boys (A and B) come in, bending forwards, each with a Numulakiri man's hand over his eyes. He is led to one end of the tjaina ground, on which special individuals are placed, during different stages of the performance, as shown in the accompanying diagrams. To one side stands an old murabulba man (1) who is supposed to represent a great old kangaroo ancestor, called Munamera; squatting down by the side of the jamba is a man (4) called dabinji-wanbui; to one side, at the end of the ground, opposite to that at which the Ningari stands, is a man (5) called jiboulu-bulba with a trumpet. In a corresponding position, at the opposite end of the ground, are two men (2 and 3), called, respectively, Marali and Mara-apul. All the rest of the men are crouching down in two lines, one on each side of the ground, and are covered over with heaps of grass stalks (Diagram 1). The arrangements of the performers at different stages can be seen in the diagrams. The native, Urangara, who gave us the account, illustrated it by diagrams on the sand with sticks and stories for men and a minute imitation of the bush shade.
As the Ningari are brought in, the old man, sitting by the jamba, strikes it hard; the trumpets sound and then the men beneath the grass take deep breaths, saying Oh! Oh! imitating the sound supposed to be made by the kangaroo. Then they whistle. The boys wonder what the noise is, because they can see nothing. Suddenly the Numulakiri take their hands away and the boys are told to look up and are warned that all they
{p. 128}
![]() |
see is kumali. The Numulakiri say to them, Tjikaru koiyu koyada--don't talk to Koiyu (mothers); Illaberi legilli koyada unkoregora--don't let the Illaberi (younger brothers and sisters) see (your) spittle; Illaberi korno koyada unkoregora--don't let the Illaberi see (your) excrement; Kumbari koyada kumali koiyu--don't laugh (to your) koiyu (about) the kumali; Unkoregora Tjaina kumali--look or see the Tjaina, (it is) kumali; |
{p. 129}
![]() |
Tjikaru koyada mareiyu willalu--don't talk (when) you go to the camp; Jam koyada koiyu kumali--don't (eat) mother food, that is, food gathered by a koiyu, it is kumali; Kuderu wirijonga jau--to-day eat wirijonga (various parts of water lilies, roots, stems, seeds); Yakadaitji arongo bararil jau (after) five sleeps eat fish. During all this time the trumpets are sounding and the dabinjiwanbui man is vigorously beating the jamba, but, after the above instructions have been imparted and many times repeated, the old Munamera man (1) gives instructions to the |
{p. 130}
musicians to stop and the two men join him at one end and stand close by, where the man with the bamboo trumpet has been stationed. The Numulakiri men then lift the grass off the men who have been whistling, saying, Oh! Eh! Eh! The old men answer with groans and then rise on one knee, stamping the ground and shouting Oh! Eh! Eh! Then, rising completely, they yell Yrr! Yrr! A-Ah! The two lines of men unite together and, led on by the Marali (2) and Mara-apul (3), who join them, they pass, with a curious surging movement, round and round the ningari (Diagram 2) and then round and round the Tjaina ground (Diagram 3). While this goes on the Numulakiri are saying to the Ningari, unkoregora morpiu mirrawarra kumali. Look, the very big morpiu (a general term applied to animals) is kumali; Unkoregora murabulba Munamera kumali, look, the old man Munamera (he is) kumali.
The lines of men are joined by the musicians, while the Marali and the Mara-apul leave them and again stand to one side with the Munamera (Diagram 4). These three men are supposed to represent three great old kangaroo ancestors and are spoken of as Tjeraiober, the latter being the name of the particular series of ceremonies enacted by the old men in connection with the initiation. They have been performing these ceremonies while the boys were in the bush. On the next occasion the boys will be allowed to see them. The men get more and more excited until at last they pass through the bush shade, after surging round and round it, lifting it up, as they do so, and scattering the boughs in all directions) yelling Kai! Kai! Wrr! Wrr! This over, they gather the boughs and grass together and set them on fire, While the fire is burning, the Numulakiri men take the
{p. 131}
Ningari on their backs and dance round and round the fire, in company with all the men, save the three Tjeraiober, who stand to one side, watching. The old men say, Umbordera kala koiyu wari nirwi, illaberi kuballi nungorduwa wari nirwi wilialu mununga, which means, freely translated, to-day you hear your koiyu calling and the illaberi and many women at the camp. Then they say, kormilda mareyida willalu, to-morrow we all go together to the camp; kormilda ngeinyimma kupakapa, to-morrow you bathe, balera kuderi, afterwards red ochre.
That night they camp near the Tjaina. The old men 1 have made armlets and hair belts and, on the next day they say, Bordera ngeinyaminna[1] kujorju, winbegi, to-day you armlets, that is, to-day you wear armlets; Bordera ngeinyaminna gulauer, to-day you wear hair belts. Having said this, they put the belts and armlets on the boys,[2] who wash and are painted with red ochre. Then. one or two of the older men take a piece of grass string and scrape the Ningari's tongue with it, the idea being to cleanse it, saying, nanjil kurrareya, tongue cleansed: tjikaru koiyu pari, mother's talk leave behind. This is done at the Tjaina, where a special fire is made to burn the string and anything that is scraped off the tongue. This brings the ceremony to a close and all the men then leave the Tjaina ground and return to the main camp, where the Ningari camp at one place by themselves. There is no special reception of them by the women. They have to be very careful, however, in regard to the latter. They must not talk to the women nor allow them to see their mouths open. Most especially they must not expectorate in such a way that a woman can see them
[1. Ngeinyimma if addressing one, ngeinyaminna if addressing two, and inyadima if addressing more than two boys.
2. There are two kinds of armlets--those worn on the arm proper are called ualtur or winbegi, those on the forearm are called kujorju.]
{p. 132}
doing it. If they want to do so, they must hold their heads down and cover the spittle with soil at once. They have no idea why, but the old men have always told them to do so. On no account must lubras see their teeth. if they did, their (the men's) fingers would break out in sores. When eating food they turn their faces away from the women and also from their younger brothers, to whom they may not speak. The mothers also tell the latter not to speak to their elder brothers.
When five days have passed, a series of little ceremonies is enacted. One old man goes out and catches a fish that the natives call Bararil. Returning to camp, the old man goes close to the Ningari and throws the fish at him, so as to hit his thigh. This little ceremony removes the kumali from the Bararil which, henceforth, the youth may catch and eat. These ceremonies are not all performed on the same day but at irregular intervals, dependent on the caprice of the old men, the object of them being to remove the kumali from certain foods. The old men who perform them may be fathers, elder brothers, or mother's brothers. Another old man will go and spear a cat-fish and with its jaw makes a slight cut on the Ningari's arm, saying, kulekuli jau, you eat cat-fish. To take the kumali off goose, or kurnembo, an old man brings some in to camp and puts a wing of the bird on the Ningari's arm and then with a Mumbarnba, or short throwing stick, he breaks the main bone as it lies on the youth's arm, saying to the latter, as he does so, Ningari kurnembo jau. These little ceremonies go on until all the kumalis are removed, and, on each occasion, the old man cuts off one of the Ningari's winbegi, placing it in a special little bag, called Nunguluwarra. When all the winbegi are cut off they are burnt in the bag and the youth is free to go out into
{p. 133}
the scrub and take part in the ordinary life, securing his own food, which, during the continuance of the ceremony, has been given to him by the old men.
2. The Ober Ceremony.
When it is decided to hold this ceremony in the Kakadu tribe, two Young Numulakiri men--that is youths of perhaps fifteen to eighteen years of age, who have passed through the Jamba ceremony-are sent out to visit distant groups of the Kakadu and other tribes. Each of them carries a wand, about four or five feet long, called uro-ammi (Fig 36). They make the wands under the supervision of the old men, who tell them what they must do. Carrying these, they are perfectly safe and can pass through strange country and amongst strange natives without any fear of molestation. When they come to a strange camp they approach within hearing distance and, standing close together, leaning upon their wands, they sing a special song which is always associated with this ceremony. The women have to reply with the call, Wait Ba! Wait Ba! repeated loudly, as often as they can, without drawing breath. They sometimes do this fourteen or fifteen times. It is one of the most picturesque of their songs, especially when heard at night time far out in the bush. The boys at the men's camp every now and then stand up and chant their song and, time after time, from camps, some so far away that you can only just hear the sound, comes back the answering cry of the women, Wait Ba! Wait Ba! Urangara, our Kakadu informant, told us that the song he sang when he was sent out was as follows
Le daming ge,
Rai la la
Le daming ge
Rai la la.
{p. 134}
On the Alligator River, amongst the Kakadu tribe, two youths, belonging to the Geimbio tribe, fortunately happened to visit the camp while I was working there with Mr. P. Cahill. The song they sang was,
Kadimanga
Di laian a
Di laian a
Kadimanga
Di laian a
Di laian a.
The women's refrain, which we heard repeated time after time, was, as usual, Wait Ba! Wait Ba! It would appear that the young men's song varies in different tribes, but the women's is the same throughout. I heard the same Wait Ba! Wait Ba! amongst the Port Essington natives.
As soon as the song is heard in the distance everyone knows what it means, and, after a time, an elder Numulakiri man goes out and says to the youths, mere willalu--come to the camp. The boys come in and are given food. In each camp that they visit they stay two or three days and, at intervals, they sing their song, the women always replying with Wait Ba! Wait Ba! After they have come to the last camp, the natives from this return with the boys and, as they journey homewards, they visit the different camps that they passed through and, from each of these, a number of men, women, and children, join the party until, at last, they come within a mile or two of the home camp. The two youths then go ahead and are met by two or three of the men from the home camp. They return to the strangers saying, nguorki kramilla, mardua, mureyimba willalu, which means literally, "white paint, afternoon, we altogether go camp." In other words, we will all paint ourselves white this afternoon
{p. 135}
to the camp. The men who met them go back and to the main camp and report that the boys and the other natives are close at hand and will come in in the afternoon. After they have painted themselves, they advance, yelling Krr! Krr! Oh! Oh! Arr! Arr! E-EE! The old men In the home camp say, Jereini (men), nigeri (new), breikul (long way), willalu (camp). This means that new men have come up from a camp a long way off. The strangers, meanwhile, have left their women and children where they first halted, and an old man now goes out from the home camp and conducts them to the women's quarters in the latter.
Before starting the sacred ceremonies connected with the Ober, the local men dance and sing at the ordinary camp, while the visitors sit down and watch them. All the men visitors sleep at the main camp, but the Ober jereini, that is, older men performing in the Ober, stay at the special Ober camp and may not go near the women. Having cleared the ground, they make once more a Tjaina, just as in the first initiation series, and on this they begin to perform sacred ceremonies. These may go on one after the other for days, each one being associated with a totemic group. A very good example of them was one especially associated with a kangaroo group. The main Tjaina ground was about forty feet long and ten feet broad, and in the middle of it was a bush shade called Wungaritja, shaped like a beehive, about four feet high and five feet in diameter at the base. At right angles to the Tjaina, at the opposite end to the shade, another ground, called Mungarni, ran out for about twenty-five feet, forming a kind of side stage.
At one end of the Tjaina a piece of paper-bark was placed on the ground and upon it a log of wood, which was supposed to represent the old ancestral kangaroo-man
{p. 136}
or man-kangaroo watching the ceremony, and was called Budjeir. A few yards beyond this out in the scrub stood the performers and audience gathered together. The members of the latter were supposed to represent different kinds of kangaroos. Sixteen men were decorated. two of them represented Moain or fish men, the rest were Marabornji, brush-tailed wallabies, The first part of the performance consisted in the decorated men being brought in, two by two, to the Wungaritja. They came in at a run, each pair led by two old men who stationed them round the shade with their backs to it and their bodies bent forwards (Figs. 37, 38, 39, 40). Each man, or most of them, wore a tuft of white cockatoo feathers on his head, and with their hands on their knees they swayed about from side to side. When all had been brought in, two old men placed themselves on the side of the shade furthest from the Budjeir. The men gathered behind them with the audience on each side, and with sticks held out in both hands in front of them, the two leaders performed a quaint dance down the middle of the Tjaina, during which they were supposed to be imitating the movements of native companions (Jimeribuna). This dance is called Man-ur-ur, the r being very distinctly sounded. After reaching the end of the Tjaina they stopped and everyone walked back to where the audience had originally stood. After a short pause, the same two old men brought the performers in one by one and placed them in a line along the Mungarni, the two Moain men in front, the kangaroos behind (Diagram 5). While this was going on, one Mal (B) was blowing hard at a bamboo trumpet, another (C) was constantly bringing a long stick, which he held in both hands, crashing down on the ground, and a third (D) was clanging two sticks together. The "trumpet," which they
{p. 137}
call Jiboulu, is simply a bamboo or hollow branch of a tree, through which a man blows and produces a droning noise, which sounds something like "biddle-an-bum," with a strong emphasis on the last syllable. {This is probably the instrument which is known as a didjeridoo--jbh} Each of the

performers bent forward and placed his hands on the hips of the man immediately in front of him. In this position they swayed the upper parts of their bodies over from side to side. The swaying was done in such a manner
{p. 138}
that there was a sinuous line of movement which was accentuated by the white cockatoo plumes. This went on for some time, and then, to the accompaniment of much clanging and trumpeting, they formed a procession, circled round the shade, passed up and down the Tjaina, and finally the decorated men dropped down on their knees, forming two rows one on each side of the Tjaina (L). The audience gathered round, and the three men (B. C. D.) came and sang over each man in turn, while the latter quivered and swayed about from side to side, the audience meanwhile singing and clanging sticks together. This occupied a considerable time, and then the performers, on hands and feet, hopped away along the Tjaina, and out into the scrub at the far end. They were supposed to be imitating kangaroos. After another pause, the performers were brought in two by two, and placed, stooping down, all round the Wungaritja, with their backs towards it--in fact, they were actually pressing into it. The audience gathered round, singing loudly, blowing the trumpets and clanging sticks, while the decorated men swayed about. Suddenly, with a loud yell, they all backed into the shade, smashed it to bits and threw the boughs up into the air. Then they trampled them to atoms and ended with a loud yell.
No one knows what it all means but, in some way, it is associated with a group of ancestors who were led by a very big old kangaroo named Jeru Ober. The Wungaritja belonged to him and he used to rest in it during the day, just as an old-man kangaroo now rests in the shade of a tree, or bush, during the heat of the day. He told the others to kill white cockatoos and make white head-dresses. Then he made the Tjaina and also the jiboulu--the hollow trumpet--and showed them how to perform the ceremony. The others looked
{p. 139}
on and said, Moara (well done), kala (a word meaning, amongst other things, certainly, or, without doubt); mabilabilla (dance). The kangaroo then said, "We are like black-fellows now (jereini), we will go underground or the natives will see us. So they all went down, excepting the Jeru Ober, who remained up for some time but, finally, he too went into the earth, a short distance away by the side of a big paper-bark tree. The original ceremonial ground was at a place called Kupperi, between the East and South Alligator Rivers. Only men who have been through the Ober ceremony may go there women and children must not go anywhere near.
Another very characteristic Ober ceremony is one associated with three snakes. It is common to Kakadu, Iwaidja, Umoriu, Geimbio and Kulunglutji tribes, all of which belong to the Kakadu nation.
We had been out one day amongst the Kulunglutji, who were visiting the Kakadu but were camped at the foot of a range, some distance away from the main Kakadu camp. They had been performing some of their ceremonies and, after coming back to the Kakadu camp, we learned that the latter were going to prepare a special ground for the performance of the snake ceremony. A place was chosen in the scrub, half a mile away from the Main camp. All the tussocks of grass were pulled up and thrown to one side to make a special ceremonial ground, called Goar. The latter was about forty feet long and ten or twelve feet broad. In the middle there were two forked sticks, fixed upright in the ground, each about three feet high. A third stick lay in the forks, like the ridge pole of a tent. It was, in fact, supposed to represent a wurley, or mia-mia, called Jumungail, inhabited by the snakes. As soon as the ground was cleared of grass and twigs and the surface smoothed down, all the men retired
{p. 140}
to one side and, to the accompaniment of trumpets clanging of sticks, and clapping of hands, it was "sung." This "singing" was supposed to make the ground slippery and in good order so that the performers could dance well. At the same time they "sang" the snake and other performances. When this was over the men returned to their camp and the Goar ground was deserted for the night. Early next morning they were at work, seated to one side of the Goar, decorating three men with bands of red ochre, dotted with white, on their chests and backs. The men also wore on their heads tufts of white cockatoo feathers. Of these three men, one represented a male snake, called Ngabadaua, a quick-moving, vicious animal of which the natives are very much afraid. The other two represented, respectively, two non-venomous snakes, one called Kuljoanjo and the other Jeluabi.
In the Iwaidji tribe, on the Coburg Peninsula, they have the same tradition about Ngabadaua, but call it Irrawurbut; the other two snakes they call Intjuan and Maijoanjoan. The Kakadua have a special name, Ngumulaua, which they use for Ngabadaua when they perform the sacred ceremony. No woman knows this name.[1]
When all was ready the performers came on to the ground accompanied by all the men except two, who remained seated a little to one side, one of them blowing a trumpet, the other clanging sticks. The first thing that they did was to perform a dance, called Mauuru, during which they ran round and round the Jumungail. When
[1. In some tribes the very old women are evidently allowed to know more than the younger and middle-aged ones. How much. they really know of these sacred or secret rites it is not possible to say. In some cases, where the women take a certain share in the performance, they are always led by one or two of the older ones who evidently know more than the others.]
{p. 141}
this was over, the three men representing the snakes took their positions. Ngabadaua went to one end of the ground and seated himself, facing the Jumungail, on a hollow log called Purakakka. This is supposed to represent a trumpet, and is the sacred name for the ordinary one called Jiboulu. By his side also there was a stick supposed to represent Ngabadaua's fire stick. The two others went to the other end of the cleared space and squatted down, back to back, on their haunches in such a way that one faced the Jumungail and one looked away from it, out into the scrub.
The remaining performers, who were not decorated, arranged themselves in two lines, one on either side of the Goar, between the Jumungail and the two men seated back to back. The dancing then began. As a general rule there was only one man dancing at a time. While he danced all the others moved their bodies up and down, striking their buttocks with the open palms of their hands. The performer stamps as hard as he can with one foot and, at the same time, he slides his other foot backwards and forwards (Figs. 41 and 42). This is by no means an easy movement, and requires considerable skill and practice to do it properly. As we watched the ceremony it was very evident that there was a wonderful amount of difference in the degree of skill shown by the various performers, Each performer had the right of pointing out his successor. This he did by touching the man's foot with his own, either after, during, or immediately before he began to dance. Sometimes he would touch more than one, and sometimes, towards the end of his dance, he drew a line on the ground in front of three or four men, who all came out and danced together. The dancing of each individual was most closely and critically watched, and any especially good performance was much
{p. 142}
appreciated. While the ceremony was in progress there was a continual refrain kept up, all the men joining In. It sounded like "ia, ia, eio, eio, eia, e, e, e, hok yai, hok yai!!!" ending up with a loud "E! E! E!!!"
While the men were dancing, the Ngabadaua began first of all, to quiver his body and to sway round and round, quite irrespective of anything that the dancing men were doing. When he stopped, the other two snake men began to sway their bodies, and so they went on, alternating in this way, during all the time that the performance lasted. After the dancing was over there was a pause, during which, however, the three snakes continued their movements. Led by one old man, the men who were standing by the side of the Jumungail and had been joined by the two men, one of whom was blowing the trumpet and the other clanging sticks, now approached in a body towards the man representing Ngabadaua, who continued to quiver and sway about more vigorously than ever Every one was shouting "Bor-a, Bor-a, War, War!" One old man then came close up to Ngabadaua, threw a stone over each of his shoulders, and, after this, the whole party suddenly wheeled round and ran to the other end of the ground, where they formed a circle round the two other decorated men. The latter quivered and swayed about while the men bent over them, yelling, blowing the trumpet, and clanging the sticks. Then, without changing their positions, the two snake men began, amidst great excitement, to move along the ground towards the Jumungail with a most peculiar surging movement. Every now and then they paused to quiver and sway their bodies while the men sang--
{p. 143}
Wa wa wa
A a ree ree
Hok ya hok ya
Arr arr
E e
Ha ha ha
Ree ree ree.
They moved along slowly and, all the time, Ngabadaua was quivering and swaying from side to side. Just before reaching the Jumungail the two men rose and came close to it, surrounded by the others. They leaned over it for a few minutes and then went to one side. This was the signal for Ngabadaua to rise, which he did suddenly and, walking up to the Jumungail, brought his fire stick down upon it and smashed it.
The natives said that the Jumungail was the home of the three snakes. The dancing men represent other kinds of snake men who have come up to look at Ngabadaua, who is regarded as the most important head of the various snake groups. The other snakes were frightened of him and were really trying to search for and kill him. The throwing of stones over his shoulders is supposed to represent an attempt to do this, but without success. They are supposed, also, to find the two non-venomous snakes out in the bush and persuade them to lead them to Ngabadaua's Jumungail. This is represented in the performance, and the entrance of all of them into the Jumungail is typified by the men bending over the sticks while the others stand quietly round. Ngabadaua then comes up, sees that they are in the Jumungail, smashes the latter and kills the natives. Ceremonies of this kind are continued for a long time, and the visitors, before they return to their own country, are presented with spears and other things--gifts which later on will be returned, in kind, when the local people visit the stranger's camp.
{p. 144}
After the Ober there is not the elaborate removal of restrictions of kumali from food articles, such as occurs at the Jamba, but there are, however, one or two rather curious little ceremonies. Before a man, for the first time after he has seen the Ober, eats any food, such as fish or kangaroo, one of the old men must take a little bit of the flesh and rub it under his armpit. Then he hands it to the other man, who smells it, puts it in his mouth and then spits it out again. In the case of the Mormo (sugar bag), an old man smears some of it over his whiskers, and it is sucked off by the Ningari youths, who are then free to eat it.
(3). Jungoan Ceremonies.
No special messengers are sent out in connection with these ceremonies, but if strangers, provided of course they are initiated men, happen to be in camp they are allowed to see them. The ceremonies are all associated with totemic groups and, judging by what we saw, are not so elaborate as those of the Jamba or Ober. They were of course conducted in the scrub out of sight of the women and the main camp, in a cleared space measuring about twenty-five feet in length and six feet in width. In connection with them I noticed one curious little feature in regard to the drawing of the blood required as gum to fix the down on the bodies of the performers. In most northern tribes this is obtained by cutting a vein in the arm, but here, for the first time, I saw them cutting prominent veins on the back of the hand. The operation is known as Kungkulabah and the little brush, made of paper bark, that is used for smearing the blood on, called Kongott. So far as the decorations were concerned they were very simple, consisting only of bands of red or white down across the face and upper part of the body. {p. 145} When all was ready, the decorated men went out into the bush, about sixty or seventy yards away from the ground. It, the first ceremony four men came in, two at a time, each of them approaching in a sinuous line, the two lines crossing each other several times. Finally they came in to where the remains of a fire lay, towards one end of the ground, danced round this and then crouched down over it. The second ceremony consisted in another batch of four men doing the same thing, except that, after they had come on to the ground, they all took hands and danced round and round, alternately lifting and lowering their arms, singing as they did so--
Ai-o, Ai-yu,
Ai-o, Ai-yu,
the "o" being sounded when the arms were high in the air and the "yu" when they were low down, the intonation following the up and down movement of the arms. The audience, seated at one side, kept time by clapping their hands (Fig. 43). After this a third batch of five men came in, acting in just the same way as the other two and, when they had finished, the whole thirteen took part in a dance round the fire and then tumbled down on it. They were lifted up by one of two old men, who had been standing to one side beating time with sticks. The performers were supposed to be young emus wandering about, and the man who lifted them up represented their mother.
After the emu ceremony was over two men came in from the scrub. As they approached the ground they peered around in all directions, imitating the actions of "debil-debils," that is, mischievous spirits, in the form of human beings, searching for honey bags. The last ceremony of the day opened with one of the old men, who was standing by the side of the ceremonial ground, throwing
{p. 146}
stones in the direction of two decorated men who were hidden from view in the scrub. He threw one stone to each side of them and one, which nearly hit them, straight at them. The throwing of the last one was the signal for the men to come out from their hiding place. They rose from the ground, where they had been crouching down and came forward, imitating kangaroos gazing about and every now and then stopping to feed. The man who threw the stones was supposed to be a member of a mob of natives hunting kangaroos, and throwing stones in amongst the long grass to see if any animals were hidden there. After, alternately, gazing round and pretending to feed, the performers came on to the ceremonial ground, where the audience, to the accompaniment of the tik, tik, tik of clanging sticks, was singing loudly--
Murama puta puta
La! lal lal a la.
As soon as they reached the remains of the fire, one of the old men knocked their helmets off, an indication that they had been killed by the men in pursuit of them, and the performance came to an end.
The Jungoan simply consists of the performance of a series of ceremonies which are strongly reminiscent of those performed by southern tribes such as the Tjingilli, Warramunga, and Arunta.
(4). Kulori Ceremony.
In connection with this ceremony, again, no messengers are sent out. The lubras are instructed to go out into the bush and collect quantities of kulori. The latter is a special kind of yam, potato shaped, that they secure by digging down from two to six feet in the ground. It is what the natives call "hot," and before being eaten it must
{p. 147}
be treated in a special way. First of all, an earth oven is made by digging a hole in the ground, lighting a fire in it and heating stones on the fire. The yams are placed on the stones, grass stalks above the yams and then the earth is shovelled in and heaped up to form a small mound. This earth oven is called peindi and is very often used for cooking. The yams have to remain in it for twelve hours and then they are taken out and allowed to cool, if they are not already cold. They are then cut in slices, by means of a fish bone, placed in a "dilly bag" with an open mesh work, and allowed to soak in water for another twelve hours, after which they are considered fit to eat.
When they decide to hold a kulori ceremony, the old men take hold of the Ningari youths, while the latter are in camp. Their mothers, sisters, and younger brothers are supposed to cry when they see this done. There may be several of them and each one is laid on the ground flat on his back. The old men say to everyone in camp, Breimba, ge, jirongadda, come, all, close up. Then, slices of kulori are taken and spread out all over the body of each Ningari. Everyone, men, women, and children, come round and watch what is being done. After a short time they remove the slices and lift each boy up by the arm. Each youth is then given a little bit, a part of which he chews and the rest he hands on to his mother's elder sisters and to his younger brothers and sisters. They must all chew it and then, putting their heads close together, they must spit it into a small hole in the ground, which is then covered up. This performance is called Kulpri muralla (spit). After this the Ningari are called Jereini kulori, or kulori men. The old man in charge of the ceremony says to the lubras and children, Ngorumba jauo, go away (get) food. To the men he says, L 2
{p. 148}
wait till the lubras have gone and we will cut sticks. This has reference to a special bough hut called Moaib, which is now made, and one end of which is left open. The lubras and children must not see it, either after, or during, its construction and, accordingly, they are told to keep to certain tracks, to get their food and water there and also to camp some distance away. When it has been built, all the Kulori jereini are made to go inside and may not come out during the day time until such time as the boughs are quite faded and the leaves all shrivelled up. If they want to micturate, the old men tell them to make little holes in the ground. The lubras bring supplies of food to the main camp, where it is taken over by the old men who hand it to the Kulori men.
Meanwhile Winbegi, or wristlets, have been taken into the Moaib and put on all the Ningaris' arms, much as at the close of the Jamba ceremony.
Every day, six men station themselves close around the Moaib, two at each end and one at each side and sing refrains, each one associated with an article of food which, until now, has been kumali to the Kulori men. These men are called Murana munga dunaitji, or, good throats. While the singing goes on, the old men, some of whom are in the Moaib, explain the refrains to the Kulori men. Some of the foods are "sung" on one day, others on other days, and, as each one is "sung," the kumali, on that particular food to which it refers, is removed.
The following are some of the refrains:
For the Kulori yam,
Gamelgua janda, gamelgua langa.
For the jabiru bird,
Ni gamberi illeri illeri
Ni gamberi nun in munga.
{p. 149}
For the flying fox,
Wingbel-Wingbel murarai-ing-a.
For the quail,
Ni wa wa, ni wa wa, ninna rei inna
Kurn iwa wei, ni we we nitjinei inna.
For the Barrammada,
Yan brer we ling brerer.
For the Mullet,
Yan brer we ling mangei.
For the lily, called Wuridjonga,
Yin bimalerei id mungarei
Yin bi langa gaird munga
Yin bi bererert munga.
The men, apparently, have no idea of the meaning of these refrains, and none of them contain the name of the food article to which they refer. They have been handed down from generation to generation.
Any old man, a father or elder brother, may either place the Winbegi on the Kulori men, or take them off, but the lubras must not see them, so that the men, when all is over and they come out of the Moaib, must keep out of the way of the women. They go out searching for food and, if they capture any of those referred to, they must bring it into camp. If, for example, a man catches a Barramunda he brings it up to an old man who rubs him all over with red ochre, takes a Winbegi off and then he is free to eat the fish, and so on with all the others. The following refrain is sung in the Moaib while the Winbegi are being made and put on:
Minang minang ererei innei
Yan minang minang kumali innei
Yan minang minang ererei innei.
{p. 150}
Muraian Ceremony.
The Muraian Ceremony consists partly of performances much like those of the Jungoan and partly of, at all events, one very special performance. We saw some of the dances performed by members of the Kulunglutji tribe which inhabits the country at the head waters of the East Alligator River. These men had come in to visit the Kakadu and had formed a camp some distance away from the latter. Out in the scrub, they had built a bough wurley with an opening on the side facing away from the ceremonial ground, close by which it was placed. Their decorating was always done some fifty yards away from the wurley, out in the scrub. It was of a very crude description, consisting only of smearing, sometimes the whole upper part of the body, with red or yellow ochre or white pipe clay, or, sometimes, they drew lines and bands of various colours.
There is no set order for these performances, everything depending on two or three old men who act as leaders. Decorating for different performances is carried on at the same time and place, to the accompaniment of the usual singing. We witnessed the ceremonies of two days and, apparently, except the special one referred to later, they are all of the usual type. The first day we had a fire, a wallaby, and a turtle ceremony. When the decorating was over, each party, led by an old man clanging sticks, came in to the wurley, each man crouching down as he did so. The opening of the wurley was so arranged that the performers inside it were hidden from the audience on the ceremonial ground. The performance opened with a fire ceremony. The performers were led out of and round the wurley, in single file, by an old man, who stationed himself beside the ground, clanging his sticks, and shouting, Kau ai u
{p. 151}
wai ya, while the men danced for a short time. The dancing was decidedly vigorous, the men often running round and round with exaggerated knee action and arms extended. Then they knelt down, swaying their bodies from side to side and moving their hands as if they were working fire sticks.
Then followed a wallaby (Kurnabulla) ceremony, the performers being led by another old man. There was nothing special about this, just the usual dancing, though this differed from that of the first in being more of the nature of an Irish Jig. Lastly there came the turtle. The leading old man and six performers came out on to the ceremonial ground, the others stayed inside. There was the usual clanging of sticks, singing, and dancing, the old man always dancing first in front of the others. After a time, those who had remained in the wurley, crept out on all fours, one by one, through a hole that they had made on the side nearest the ceremonial ground, and came on to the latter rolling about. They were supposed to represent turtles feeding, and, while they were doing this, the others came and danced round them. The performance came to an end with all the performers prancing about with their arms thrust out while they yelled, Yer, Yer, ai ai!
Oil the second day we had Wallaroo (a species of kangaroo) and Turkey ceremonies. The men were decorated together and each party was led to the wurley by its own old leader just as before. The Kangaroo men had curious bands running slantwise down their chest and backs and along their legs, which designs were supposed to represent the backbone of the kangaroo. They came hopping out through the hole in the wurley and danced round as usual. The turkey men did just the same, except that, before they left the wurley, men
{p. 152}
who had taken part in the Kangaroo dance set to work to claw at the bushes on the outside. They were supposed to be imitating flying foxes hanging in the trees under which the turkeys were resting.
We discovered, however, that there were certain very sacred objects associated with the Muraian ceremony, Each one is intimately connected with a totemic group, and there may be more than one for each group. We came across the first one through a casual reference made to it by an old Kakadu man. It was a small stone which was called Iwaija Kopereipi, that is, Emu egg. These objects, however, are so intimately associated with the totemic groups that I have dealt with them in that connection.[1]
In certain respects, though it is not connected with the performance of fire ceremonies or ordeals of any kind, the Muraian, inasmuch as it forms the last stage in the series of initiation ceremonies, is comparable to the Engwura of the Arunta Tribe. In the Kakadu Tribe the fully initiated man has the special status term of Lekerungun, just as in the Arunta he has that of Urliara, applied to him. When once he has passed through the Muraian, he may witness, and take part in, all the sacred ceremonies, and nothing is hidden from him.
The Larakia tribe, which once inhabited the country round about Darwin, is now much too decadent to retain anything more than mere vestiges of its old customs. The members of the tribe are also mixed with those of numerous others who have been drawn in to the settlement from early days. Unfortunately, no adequate account of their ceremonies has ever been written[2] and
[1. See Chapter iv.
2. The best accounts that we have of this tribe are those of Foelsche, Trans. R.S. South Aust., Vol. 5, 1882, and Basedow, op. cit., Vol. 31, 1907.]
{p. 153}
It is now too late to have the opportunity of actually watching the natives carrying them out under normal conditions.
The following account was given to me by an old man who was well acquainted with what formerly took place and, thanks to the assistance of my friend, Mr. G. W. Stretton, now Chief Protector of Aboriginals for the Northern Territory, I was able to watch a representation of the performance of a part of the ceremony during which the sacred bull-roarers, called Bidu-bidu by the Larakia, are shown to the initiates. As in the case of the Melville and Bathurst Islanders and the Kakadu and allied tribes on the mainland, the Larakia ceremonies do not include any mutilation of the body.
There are two grades of initiation admitting a man respectively to the status of Belier and Mullinyu.
The Belier ceremony was, apparently, held once every year at a time decided upon by the old men, who also determined what youths should be initiated at any given ceremony, though all men of the rank of Belier, Mullinyu, and Lariba knew what was taking place.
As usual in such circumstances, the opening of the ceremony, which is called Makulauri, is marked by the holding of an ordinary corrobboree at which all members of the local camp, as well as visitors from other tribes, are present. At this corrobboree the selected youths are picked out by the old men and given into the charge of special guardians, who are called Birra-pirra-pirra. As soon as the corrobboree is over the youths are taken out into the bush by their guardians, the women, from under whose control they are now passing, weeping and wailing.
A camp Is made out in the bush and here the boys are kept, except that every now and then they are taken to the main camp and shown to the women, but no intercourse
{p. 154}
of any kind is allowed with the latter, who are carefully watched over by certain old men, told off for the purpose. The youths, meanwhile, are allowed to eat but little and are even supposed to give to their guardians a part of the small supply of food with which they are provided. The old men tell them that, if they eat much, some one will come up and kill them during the night, and that they, their guardians, will not prevent this from being done nor be angry with the doer. They are continually instructed in tribal customs and are told, time after time, that they must not steal, must not interfere with other men's lubras, but must imitate the old men. They are made to sit down quietly, are continually hit with spear throwers, and kicked and cuffed so as to hurt them a great deal, but, whatever may be done to them, they must on no account show any resentment or they will be still more seriously dealt with. This is supposed to have the effect of making the youth a "good" black-fellow. During this period, also, the guardian cuts the Belier on the chest so as to make the two raised cicatrices that are the mark of a Belier.
When they have been a considerable time in the bush the youths are brought back and led to a special camp in the scrub, hidden from the sight of women and strangers. First of all they are made to sit down in a row on the ground with their faces turned away from a space that has been cleared in the scrub, in which the important ceremony of showing them the sacred bull-roarer is to be enacted.
A young man who has attained the status of Belier is now in charge of each youth, lest he should feel frightened and run away. The old men, four or five in number, who must have reached, at least, the status of Mullinyu and who are to swing the bull-roarers, go away
{p. 155}
into the bush where the youths cannot see them and paint themselves. The bull-roarers are thin flat slabs of wood from a foot to eighteen inches in length. They are two or three inches in greatest width, are rounded at one end and truncate at the other, through which a hole is bored for the attachment of three or four yards of string. They are ornamented with alternate lines of red and white.
The old men emerge from the scrub so that they cannot be seen by the youths, who have their backs turned to them. Their eyes also are covered by the hands of the Beliers in charge of them. Out in the open ground the men begin to swing the bull-roarers round and round, gradually approaching the youths as they do so (Fig. 44). The latter are supposed to be very frightened, because they, like the women and children, have been taught to believe that the sound is the voice of a great old man who has come to take them away into the mangrove scrub.
Suddenly their guardians turn the boys round, take their bands away from their eyes and tell them to look at the old men whirling the Bidu Bidu. They stand up and for some time the whirling goes on, the youths watching in silence. Presently the old men come close up to the boys, who stand in a row. Each old man, holding one of the Bidu Bidu, comes up to a boy and stands in front of him. First of all he rubs the stick through his own armpit and then across his stomach (Figs. 45, 46). If he did not do this, it is supposed that the strong magic of the Bidu Bidu might enter the boy's body and cause him to swell up. He then rubs the stick through the boy's armpit and pokes his stomach with (tie end of it, after which the boys are told to hold out their hands and the sticks are placed on them. Each one is told that it is Bidu Bidu, that the noise is not a voice but is made by the stick, and that on no account
{p. 156}
whatever are the lubras to see the sticks or know anything about them. Meanwhile the boys are told that they may take the sticks, which will help them to catch fish and secure food. They carry them about in the scrub, avoiding the women and children, for two or three months, after which they are completely destroyed by fire, no trace of them, string or wood, being left.
When this is over the youths are brought into camp where all the natives, men. women, and children, are gathered together, the women having brought in a large supply of food that is placed in the middle of the ground. The latter is margined by a raised bank of sand with an opening at one side. The men and women sit around so as to leave the centre and entrance free. Everyone is on the watch and after a time a procession is seen in the distance consisting of the newly-initiated youths and their guardians. They have all been decorated with lines of pipe clay and red ochre and approach in single file, one old man in the lead, then the youths, and then the remaining guardians. The leading old man first of all runs round and then sits down near the entrance. One after the other the youths go round, showing themselves to all the members of the camp. Should any one of them have a lubra betrothed to him, that lubra sits down close beside the boy's mother, who watches over her. The youth, when he has walked round, comes and sits with his back to the girl, a small fire being placed between them. The other youths sit down in the centre of the camp, still watched over by their guardians, one of whom distributes the store of food, which is shared by everyone. That night is spent in the special camp. In the morning it is deserted and everyone goes back to his ordinary life and camp. The youths are now ranked amongst the Belier men and may
{p. 157}
take part, at first only to a slight extent, but gradually more and more, in the various ceremonies.
After a man's first child has been born some of the really old men, or Lariba, take him away with a number of others who are of the status of Mullinyu, that is, fully grown men with children. Out in the bush ceremonies are performed. The man must not go near his lubra, in fact he is kept out in the bush for two or three months. He is told that he must treat his lubra well and not beat her, that he must not quarrel with the other men and that he is now a grown man--a Mullinyu.
In the Worgait Tribe, which inhabits country to the south-west of Darwin, there are also two important ceremonies connected with initiation. In this, as in the majority of the Central and Northern tribes, initiation is associated with the operation of circumcision, and it belongs to a group of tribes, including the Warrai, Djauan, and Nullakun, in which the operation of subincision is not practised.
At the first ceremony, which is called Kundein, the mothers' brothers (kukka), fathers (boppa), fathers' fathers (guga), and mothers' brothers' sons (ngunga), consult and decide that it is time for a certain youth to be initiated. Accordingly, one day, when all are in camp together, two or three of his ngunga men seize the boy. All know what this means and the lubras immediately begin to howl and cry, the actual and tribal mothers cut their heads with knives and pointed sticks, the sisters cut themselves and the old men pretend to cry.
The ngungas take the boy away and travel through the bush until they come into the country of another tribe, such as the Larakia, amongst whom they will spend two or three months. During all this time the boy is watched by the ngungas, and may not go near the lubras. He is
{p. 159}
taken to various Larakia camps, each with its own local name--Gwiamabirra, Top Camp; Minbirra, Lamaru Beach Camp; Duledgibirra, Two Fellow Creek Camp; Ingwinbirra, Lighthouse Camp. At every camp that he visits, spears, wommeras, head bands, belts, etc., are given to him. At length he gathers all his presents together and, accompanied by his ngungas, travels back to his own Worgait camp, collecting as he goes along the natives from the different camps that he has visited.
When the party comes within one day's march of the home camp a halt is made and, leaving the boy in charge of the Larakia visitors, the ngungas go ahead to their own camp. After a halt, so as to allow the ngungas to get well ahead, the party starts off again, the times being so arranged that the ngungas get into camp about sunrise the next morning. The men and women are aroused, and a general wailing takes place. It is etiquette for the ngungas to say that they had lost the boy, or that he had run away from them and been killed by strange natives. The lubras are supposed to believe this, and accordingly they howl aloud. After this little bit of pretence has been enacted, the ngungas return to where the boy is camped with the Larakias. In the afternoon the party comes on with the Larakia men, the visitors in the lead. The boy is guarded by his ngungas. All the Worgait natives, men and women, are seated in a semicircle in their camp and, while the Larakia men halt in front, the ngungas bring the boy on and seat him between his father (boppa) and his mother's brother (kukka). Behind the boppa is the boy's mother, and behind the kukka is his future wife. This is a signal for all the Worgaits to cry. After a short time the Larakia men begin to dance and sing while the Worgaits quietly watch them. This over, the Larakia men take the boy away for a short time into the bush.
{p. 159}
The Larakia women stay behind, as do also the ngunga men. Later on the Larakia men return with the boy; the Larakia women stand in two groups, one on either side. The ngungas advance, and the boy is handed over to them. The Worgait natives, men and women, are seated together on the ceremonial ground.
This handing back of the youth to the ngungas is the signal that the ceremony of circumcision is about to be performed In the middle, of the ground three ngungas lie down side by side with their heads lying face down wards on their folded arms. The boy is placed on them, another ngunga sits on his chest, one holds his legs open, and a third, who is called ngulla ngura, pulls the foreskin forwards and cuts it off with a sharp stone flake. As soon as the ngungas lie down, sheets of paper bark are placed round so that the lubras do not actually see the operation. The Larakia women retire and stand some little distance away. While the operation is in progress the mother's brother (kukka) of the youth cuts the latter's Ngungaran woman on the back, the father cuts the mother's back, and others cut themselves. The Ngungaran woman is the daughter of the kukka man and the future wife of the boy who is being initiated.
As soon as the operation is over the newly initiated youth, who is now admitted to the status of Kundein or Muragull, is surrounded by the grown men and led away for about two hundred yards, the women remaining in lamp, cutting themselves and wailing. The men tell him that he is now a man, and that he must not allow the lubras to see his private parts. He is decorated with arm bands (delera), a hair girdle (bulkung) made out of the hair of one of his ngunga men, and white cockatoo feathers. Black cockatoo feathers he may not wear; these are reserved for the old men.
{p. 160}
A special support, called ngurabik, in the form of a small loop, is made for the penis, which is tied up to his waist belt. He carries also a small object called mammurung, which is only a stick wrapped in fur string. It has, however, been "sung" by the old men, and is full of magic. If he falls asleep and might hurt his penis by pressing on it, the mammurung strikes him and wakes him up. All these things, when he has recovered, he returns to the ngunga from whom he received them, and to him also he gives everything that has been presented to bin, by the Larakia visitors.
The ceremony is called yarra balumna (cut) mura (penis), and when it is over the Larakia return to their own country.
The foreskin, called yarrang mura, is red ochred, wrapped up in paper bark and put into a little dilly bag, which is given to the boy, who is warned not to lose it on any account. The boy, who is now Kundein, is kept out in the bush for two months longer, during which time he is under the strict guardianship of his ngunga and may not speak to anyone except the latter, and then only if he be spoken to first. When the wound is healed a number of men go out into the bush, leaving others in camp with the lubras. Out in the bush a procession is formed, and just at sundown the men return walking in single file, the kundein in front, the ngunga man next, and the others behind. The lubras are seated in camp, and the procession walks round so that the boy can be seen by all the women. That night the boy sleeps in camp, watched over by his ngunga, with a small fire between him and his ngungaran woman, that is, his future wife, who is watched over by his mother. In the morning the ngungaran returns to father's camp, and all go out into the scrub except the boy, who is not supposed to walk about much and still
{p. 161}
guarded by a ngunga and provided with food. Finally, when he has quite recovered, he hands the yarrung mura, or foreskin, to the ngunga man, who cuts it into small pieces and burns it out in the bush. The kukka and ngunga then tell the initiated youth that he may take his lubra, and, without any further ceremony, they go out together into the bush hunting and, after a short time, return and settle down in camp.
After a man has secured a lubra and the latter has had a child, he becomes admitted to the further status of Baquett. The older men, his kukka, boppa, ngunga, talk the matter over, and one, day, while they, together with the younger man, are in camp, they say, "Let us go and fish," which is a signal for them all to go into the bush and make a special camp, where the ceremony of miba jerra jeva, that is, showing the bull-roarer, or Bidu Bidu, is performed. This is very much the same as amongst the Larakia tribe. Three or four men are painted and carry the sacred sticks. The Kundein youth is held by two or three of the elder ngungas, who tell him to keep quiet and not be frightened. Then the older men, whirling the Bidu Bidus, come out of the bush. The Kundein's eyes are covered up and he either is, or pretends to be, very frightened, believing that the noise is the voice of a great old man who has come to take him away. The ngungas, however, reassure him, and tell him that it is only a piece of wood, and that the sound is made by its whirling. They then show it to him, pass it under his armpits, and place it on his hands, after which it is given to him to carry about. For two or three months he remains out in the bush. Finally, he breaks the Bidu Bidu in pieces and burns them until not a trace of it is left. After this he is regarded as having acquired the status of Baquett. Later on, when his hair begins to
{p. 162}
turn grey, he will be recognised as one of the Namyuk or old men.
The Djauan tribe inhabits the country on the Katherine River, and is closely allied in its customs and organisation to the Worgait. When a youth attains puberty the old men consult and decide that the time has come to initiate him. Only one boy is usually initiated at a time, and the ceremony is held during the cool season. When all the natives, men, women, and children, are gathered together in camp, the boy is seized by two or three men who stand to him in the relationship of walnagung, that is, wife's father. They take him, accompanied by all the men in camp, to a special ceremonial ground out in the bush, where he is shown a series of totemic ceremonies called, collectively, Mindirinni. After having been through some of these ceremonies, during which the men are decorated with birds' down and wear bunches of leafy twigs on their legs, the operation of circumcision is performed. Two of the walnagung men lie on the ground, the youth is placed on them, a third walnagung sits on his chest, and a fourth performs the ceremony. The boy is now shown the bull-roarer, or Kunapippi, and told that he must say nothing about it to the women, who would be struck dead if they should chance to see it, When the ceremony is over, the Kunapippi is taken away and placed in a secret place by the old men. At first the foreskin is placed in a small dilly bag called monuik. After a short time it is handed over by the walnagung to the father who cuts it in two. One half he keeps himself, the other he hands to the youth, who must remain out in the bush until the next cool season comes. The boy finally hands over his half of the foreskin to his father, who buries both pieces in a hole in the ground, to which the name of Tuan is given. No one interferes
{p. 163}
with the Tuan; if anyone should attempt to secure the foreskin, the father of the boy would kill him. When this has been done, word is sent to the women, who go out and bring in a supply of food, yams, etc., while the men prepare a special camping ground on to which the food is brought. The men and women sit round and the walnagung bring the youth in and walk round so that he can be seen by all. They all sleep in the camp that night, and after this the ceremony comes to an end, the boy is regarded as having attained the status of Lagaian, and he may, if a lubra has been allotted to him, take her as his wife.
Later on, when he has a child, the old men take him to a camp, far away in the bush, where they perform a number of totemic ceremonies in which he himself is allowed to take part. This admits him to the status of Mungai, the equivalent of Mullinyu amongst the Larakia, or that of Baquett amongst the Worgait.
The Mungarai tribe, which inhabits country along the middle portion of the Roper River, is one of a large group of allied tribes extending over wide areas in Central and Northern Australia, from Oodnadatta in the south to Daly Waters in the north and from the interior of Queensland on the cast right across the continent to the western seaboard. These tribes all agree in having the eight sub-class organisation with descent in the paternal line, and in performing the initiation rites of circumcision and subincision.
Only one youth is initiated at a time. When the mother's brothers (ngagung) think the boy old enough they speak to his father and instruct one of their sons who is namminjeri (or wife's sister) to the latter to take charge of him. He is taken into the men's camp, which is called mallam, and here while they are all quietly sitting
{p. 164}
down together the namminjeri comes up and puts one hand behind his head and the other in front of his eyes. The women are in their own camp, called Kallia, some little distance off, where they can see what is being done but cannot hear what is said. The boy's ngulangnunyi, own and tribal mothers and his ngulababba, sisters, begin to cry and the namminjeri, who will henceforth be his special mate, and is always older than the boy, says to him, "Don't be frightened; I want you to walk about a man." A camp has been previously made out in the bush by clearing a space twenty or thirty yards long, heaping the earth up along either side and closing in one end with a brake of boughs.
Into this camp which is called Kalal the boy is brought just before sundown, accompanied by most of the men in camp.
Some time previously, messengers carrying kunapippi or bull-roarers have been sent to various camps inviting them to come and take part in the ceremony. These messengers go to distant groups in the Mungarai tribe and to the camps of friendly tribes such as the Nullakun. Carrying the kunapippi they are perfectly safe and, on the return journey, they collect the visitors and leisurely return to the home camp, the numbers of the party increasing as they come nearer home. Near to the main camp they halt while the messengers go on to report their arrival, though this has been announced beforehand by smoke signals, and to announce what visitors have come. Some of the older men return with the messengers to the strangers who are formally welcomed; the women are taken to the women's camp and the men to the Kalal. It is customary at all such gatherings for the different camps to indicate approximately the locality of their occupants. Thus, for example, men from the west will be found on
{p. 165}
the west side of the camp, men from the east on the cast side, and so on.
When darkness comes on the bull-roarer is sounded in the Kalal; the women, in their camp, hear it and think it is the voice of a spirit called Nagurnguruk that has come to take the boy away and, time after time, they cry out kel-a-bill-a-la. The Mungarai men first of all go inside the camp and range themselves along the two sides; the boy who, at this particular stage, is known by the status term Ikmurli, sits at one end close to the bough shelter, watched over by his namminjeri. He is naturally very frightened, not knowing what is going to happen to him, because up till now he has firmly believed that the sound of the bull-roarer is really that of a spirit who has taken other boys away.
Fires are lighted and, first of all, the strangers dance wildly round and round, outside the raised lines and the bough brake. As they do so they continually shout out the names of different totems, Sugar-bag, Lily, Kangaroo, Snake, Lizard, etc. While this is going on two of the local men stand up, shouting loudly, A-A-A, each of them at the same time moving a hand rapidly backward and forward in front of his mouth. Every tribe has its own name for the very peculiar and far-reaching sound produced in this way. The Mungarai call it Tjangulumma and, in this tribe, it is said that only men of the Tjabijin sub-class have the right to make it.
Before the beginning of the ceremony the women have collected large stores of lily roots that have been ground on stones and made into cakes which have been brought into the camp and are now presented to the strangers. Outside the camp, in the dark, two men incessantly whirl the bull-roarer. For some days the men remain in the camp performing ceremonies concerned with the totemic
{p. 166}
groups. These are called warwiran, which is the equivalent of the word quabara amongst the Arunta. The Mungarai also have a term kurnallan, which is, apparently, the equivalent of alcheringa in the Arunta and refers to the far past times during which their old ancestors lived. The sacred ceremonies are shown to the boy and explained to him. They vary according to the men who are in camp but are all associated with the totems--bandicoot, native companion, sugar-bag, crocodile, etc. He is instructed in regard to the traditions of the ancestors and told what he must and what he must not do now that he is no longer a boy. He is particularly warned against eating snake, goanna, or fish; he may eat plenty of lily roots and seeds, but should he eat these animals until he is an older man, he will become lame and deformed. Not only is he shown these ceremonies but, for the first time, he sees and actually handles a kunapippi. Further still, his namminjeri decorates him with the special design of his totem, called mungaiini, the name and existence of which, told him by his father, he now learns for the first time. The Mungarai word for totem is namaragua. During the performance of the ceremonies songs are sung in which the Kurallan names for the various animals and plants are used. Thus one of the refrains, repeated time after time, is Marunga, marunga ma, waididji, waididji ma. Marunga is the Kurallan name for the cat-fish which, in ordinary circumstances, is called warba; waididji is the frilled lizard. The women and children never hear the terms warba or waididji.
These ceremonies are spread over several days. When they are over the operation of circumcision is performed. Three of the boy's namminjeri lie down on the ground and the boy is placed on them. One man sits on his chest and two others hold his legs open while a mother's
{p. 167}
brother (ngagung) performs the actual operation. After it is over the boy, who has now reached the status of Wandella, is made to sit on a log so that the blood from the wound falls on to a piece of paper bark. The special namminjeri, who has been watching over him, at once takes it and shows it to his mother. The latter tells him to take it to the boy's father who, in his turn, tells the namminjeri to give it to his own father, that is the mother's brother of the boy. This man keeps it for a short time and then places it by the side of a water hole, where it is left. The foreskin also is handed to the namminjeri, who keeps it for a year, wrapped in paper bark, and then hands it over to the boy, who gives him spears and other implements. The boy is told to show it to his mother, who, again, tells him to give it to his father, and the latter, after retaining it for some time, buries it by the side of a lagoon near to which only old men may go.
At a later period the Wandella youth must pass through the ceremony of subincision, after which he is a man, a Nadiriga, the same name also being applied to the ceremony. When this is performed the men sit down at a special camp, the women being some distance away. The Wandella man is in the middle with the older men all round. His ngagung tell the namminjeri to take hold of him, which they do, at the same time tying string round his arm and decorating him with bird's down (lanur), which no women is allowed to see. Singing goes on all night and no one sleeps. At daybreak, the Wandella youth is placed on two namminjeri, who lie down on the ground, another namminjeri sits on .his chest and a fourth performs the operation of subincision with a stone knife. The blood from the wound is collected on a piece of paper bark, and, this time, is
{p. 168}
taken by the namminjeri first to the father. He gives it to the boy's mother and she takes it away and either places it in a hollow trunk or buries It in the bank of a lagoon where lilies grow and where also there is what the natives call a Mungaiini, that is, a place at which in the olden times the totemic ancestors left spirit children behind them. This water hole then becomes tabu to all other lubras, but the presence of the blood is supposed to make the lilies grow. After, perhaps, two years the grass all round it is burned and then all lubras may go there and gather lilies.
After the operation the Nadiriga man is taken away into the bush under the charge of his namminjeri who, together with other older men of the same relationship, provide him with food. When he has quite recovered he is painted all over with fat and red ochre and ornamented with armlets and birds' down. The men gather together and perform a sacred totemic ceremony in which he takes part. After it is over a forked stick is placed against a gum tree and under the former, on which he sits, a fire is lighted with plenty of green twigs, so that he is well smoked. This and the painting with red ochre are supposed, amongst other things, to protect him against snake bite. One of the men in camp, who told me what had happened to himself, had, unfortunately, not been completely red-ochred. There was just one spot on his foot which had been left untouched and here, a few years ago, a snake had bitten him at Borroloola on the Gulf of Carpentaria, in proof whereof he showed me the scar.
During the whole time that the youth is out in the bush he may not speak to anyone--not even to his namminjeri--except by means of gesture language. He is not released from the ban of silence until he has
{p. 169}
passed through the Nadiriga ceremony and has returned to camp. Here the men sit in one group and the women in another, about thirty yards apart from one another. First of all the namminjeri leads the Nadiriga man up to the group of women and tells him to sit on the ground so that he has his back to his mother, who is in the middle of the front rank of the women. Then two lubras arise, warm their hands at a fire which has been lighted and then rub them from behind, so that he does not see them, under the man's arm pits and on top of his head, saying, "you talk now." This over they place hair and string girdles round his chest and on his head. At a later time he is released from the ban of silence so far as the men are concerned, but before this is done he must go out into the bush and secure food, such as a kangaroo or wallaby, which he presents to his father. his namminjeri and the older men in camp. After he has done this to the satisfaction of these older men, the mother's brother (ngunga) says to the namminjeri, "you make him talk now." Accordingly, one day, when all the men are in camp, the namminjeri says to him, "come here, I want to rub you." He warms his hands at the camp fire, puts them under the Nadiriga's arm pits, rubs his mouth and head, and ornaments him with fur string. No woman is allowed to see this final ceremony, after the performance of which the Nadiriga is admitted fully to the ranks of the men.
In the Nullakun Tribe, which inhabits country adjoining that of the Djauan on the west and the Mungarai on the east, initiation is associated with the ceremony of circumcision; subincision is not performed, in which respect it differs from the Mungarai.
When a boy is thought to be old enough for initiation his father speaks to his mother's brothers (nukaitka), by
{p. 170}
whom all arrangements must be made. One day at early dawn while everyone is in camp a mother's brother's son (kinda), who has been told what to do by his father, goes behind the boy, who knows nothing of what is planned, and puts both hands over his eyes. He says to him, "you must not walk about a boy any more; you must walk about a man." He then takes him away from the women's camp, where he has hitherto lived, to the mopul or men's camp. Here he is first greased all over with kangaroo fat and then decorated with red ochre, forehead bands of opossum fur and kangaroo teeth, hair belt round his waist, and fur band round his chest and down the middle of his back.
A consultation is then held between the boy's father and his mother's brother, during which it is decided how long the boy shall be kept out in the bush and what camp he shall visit under the guardianship of the kinda, that is, the mother's brother's son. The kinda selected is always older than the boy who is being initiated, and, together, they travel round the country visiting different camps, both in their own tribe and in adjoining ones, and inviting the strangers to accompany them on their return journey. This travelling about occupies two or three months and they always arrange to start back with a new moon. They gather the visitors together from the various camps and, days before they reach the home camp, their coming is signalled by means of great "smokes."
The local men, meanwhile, have prepared a special ceremonial camp called kokullal, clearing the ground and raising a roughly circular bank of sand all round it with an opening on one side. The lubras go out daily and collect large quantities of lily roots and seeds, the latter of which they pound up with stones and make into cakes. {p. 171} The nukaitka men, that is the mother's brothers, superintend the getting of a plentiful supply of "sugar-bag" or honey comb of the wild bees. These two, lilies and honey, are staple articles of diet amongst the natives and fortunately are usually procurable in large quantities.
When the party returns, a halt is made some little distance from the ceremonial ground and, leaving the boy with the strangers, the kinda goes on ahead to meet the local men who, together with the lubras, are gathered on the ceremonial ground at the end facing the opening in the bank. One of the nukaitka men who has reached the status of noboila, that is, a really old man, has been appointed to take charge of the proceedings and to him the kinda goes, saying, "I have brought him."
A messenger is sent to tell the strangers to come on, the kinda who went with the boy remaining close by the noboila man. The group advances towards the entrance to the ground, the men with the boy in front, the women behind. Another kinda goes out to the strangers, takes the boy from them, and runs round the circle with him so that all the local people can see him. This over, he goes back with him to the strangers, who are standing some little distance away, and remains amongst them for a short time, during which they hand over to him their spears, boomerangs, ornaments, etc. He gives these to the boy and then another kinda is sent from the local group by the noboila man. He kneels down amongst the strangers and the boy is placed on his shoulders holding the spears above his head. This giving of spears is emblematic of the fact that the time has come when the youth may use the weapons of a man. The strangers, with the kinda carrying the youth in the lead, approach, yelling Srr! Srr! The local men stand up and shout, Burra, erlumaia, erlumaia, which means "bring him,
{p. 172}
put him down, put him down." The boy is brought to the spot at which stand the noboila man, the kinda who had watched over him in the bush, and his father and mother. He comes down from the shoulders of the kinda and places the spears on the ground at the feet of the noboila man. Then he and his kinda guardian take some pipe clay that has been prepared for the purpose and paint a mark on the back of each of the strangers who have meanwhile remained outside the raised circle, close to the entrance. The visitors then retire a little distance away and camp.
The kinda takes the boy to his mother, who is seated in a group comprising her sisters, her mother, and the latter's sisters, together with the boy's sisters. All these women cry over him for some time, after which his own mother gives him a specially large cake of lily seeds that she has made herself. The boy hands this to his kinda, who takes it to the strangers, and then everyone eats the food supply that has been provided. The boy and his kinda meanwhile sit apart in front of the men and women within the circle so that they can be seen by everyone.
After everyone has eaten, dancing and corrobborees begin. The morquoll (father and father's brothers) and nukaitka (mother's brothers) dance first, striking their legs and singing:--
Yalina balla gula lagun bili
Ya, ya, ya, ya, ya!
These words have no meaning known to them and belong to what they call the mumus, that is, the far away times during which their mythic ancestors lived. This singing goes on for about an hour, during which time the boy sits quietly watching.
The strangers with their lubras then come up and the latter dance outside the circle inside which the men sit. {p. 173} This dancing goes on all night, no one going to sleep. As soon as the morning star is seen the lubras cry out. The kinda has prepared a long stick with a bunch of cockatoo feathers at one end, called jappa. He gives it to the lubras, who first of all dance round and round, carrying it, and then place it upright near the middle of the ground and retire from the circle. The kinda tells the boy to go and stand beside it with his hands behind his head and, while he stands thus, the visiting lubras come into the circle and dance round and round him singing, Ya, Ya, ya, ya, ya! This over they stand to one side and, when the sun has risen, the morquoll and nukaitka tell the women to take the boy away. They do so, shouting, Oh, oh; wo, wo, the decorated pole remaining upright in the ground. The visiting lubras accompany the local ones to a camp a long way off in the bush. Here a special bough shade or mia-mia has been prepared and under its shelter the boy is allowed to rest until sundown on a bed of grass stalks and paper bark, with which he is completely covered and hidden from view. At sundown the lubras, who meanwhile have remained silent, wake him up and take him back to the ceremonial ground where the men are singing and painting themselves. Only local men are on the ground when the lubras return, the visitors have already completed their decorations and retired out of sight of the local people into the bush.
When the women bring the youth back, a lubra of the right class for him to marry holds a piece of paper bark, in front of his eyes and he is led thus on to the ceremonial ground, where he is told to lie down by the side of his guardian kinda, and is completely hidden from view by sheets of paper bark. The jappa stick with feathers has been removed. The natives have no idea what
{p. 174}
this signifies. It may possibly be a surviving relic of an object allied to the sacred poles, called Nurtunjas, that figure largely in the initiation ceremonies of the Arunta, though, amongst the latter, the women are never allowed to see them.
A local man takes two nulla-nullas, or fighting clubs, and strikes them together, singing as he does so--
Ballima, Birrma, Wirrima,
Ralla, goy, goy, goy------!
repeating the refrain several times so as to attract the visitors, who then approach and stand within the opening. The old men of the local group say to them, "All right, you go away," and accordingly, for a time, they go to their camp and rest. At this stage the women, both local and visitors, are sent right away to a camp in the bush, and take no further part in the proceedings.
After an hour or so the visiting men come back and begin to dance corrobborees, all having reference to totemic animals and plants. The local men sing, and the boy is told to watch and not speak. This goes on till daybreak, when for a short time they rest. As soon as the sun rises, five kindas lie down, one below and four others above him, at right angles to the length of the body. The boy is placed across them, two nukaitka men hold his arms and two his legs. Two kindas pull the foreskin up and another cuts it off. As soon as ever the operation is over the boy is lifted from the men and placed, lying at full length, on the ground. The nukaitka and kinda say, "You are all right now. Do not go anywhere. Stay at the mopull (men's camp). Do not eat goanna, snake, or porcupine. When you are a big man you can eat them. Only eat lilies now."
The visitors return to their own country, and the boy,
{p. 175}
under the guardianship of another kinda, goes out into the bush. The foreskin is handed over to the kinda who first had charge of the boy and, in his turn, he hands it on to a nukaitka, who keeps it for some time, showing it to the boy's father, mother, and mother's brothers, the latter being his own brothers. Finally, he gives it to the boy's mother, who buries it by the side of a water hole and tells the other lubras where this is, because, for two years--that is two wet seasons--no one save men and women who stand to the boy in the relationship of maina (mother, mother's sisters), morquoll (father, father's brothers), and nukaitka (mother's brothers) may gather lilies at that spot. After the two wet seasons are passed the mother burns the grass round the water, and then anyone may go there.
Out in the bush the boy must not talk to anyone, not even to his kinda guardian, except by means of gesture language; in fact, before he can talk he has to make the kinda a present of spears, boomerangs, girdles, kangaroo teeth, red ochre, etc. When the wound is completely healed the kinda greases the boy, paints him with red ochre, puts a kangaroo-tooth head ring on him, and, decorated in this way, takes him first to the mopull, or men's camp, and then to his mother, who wails loudly, all the women in the camp joining in.
The young man has now attained the status of Bandari, but he must still remain in the bush, and may not go anywhere near the lubras. Under the direction of his guardian he secures a supply of food, consisting of goanna, opossum, kangaroo, sugar-bag, etc., which he sends to his nukaitka men. The kinda in charge of him tells him when to do this, which is a sign that the final part of the ceremony is about to be performed. The men all go from the main camp, leaving the women and
{p. 176}
children there, to a special one out in the bush, to which the kinda brings the new bandari man. The latter at first sits down while the kinda holds both hands over his eyes and ears.
The men decorate themselves with birds' down (bulluk) and perform a series of totemic ceremonies, which vary according to the sub-class to which the initiated youth belongs. In this tribe the totemic groups are divided amongst the four sub-classes called respectively Jobal, Mangaralli, Alakaraninni, and Gindar. If a man, for example, belong to the sub-class Jobal he is shown, during this the final stage of his initiation, ceremonies that are concerned with the totemic groups of that particular sub-class.
It is during the performance of these that, for the first time, he is allowed to see the bull-roarer or kunapippi, the noise made by which is supposed by the lubras to be the voice of a spirit called Mumanna, who takes the boy away during the initiation ceremony.
{p. 177}